Запчасти Case IH 9150 (4-30) - GAUGE PANEL, ROPS POST, P.I.N. 17900705 AND AFTER (04) - ELECTRICAL SYSTEMS

Схема запчастей Case IH 9150 - (4-30) - GAUGE PANEL, ROPS POST, P.I.N. 17900705 AND AFTER (04) - ELECTRICAL SYSTEMS
46
18
14
35
46
37
56
44
19
43
41
36
46
37
33
21
25
24
29
3
42
34
52
18
47
20
55
45
21
17
24
53
20
47
54
5
13
45
17
1
44
32
14
12
33
19
59
4
FIT
1:1
100%

Артикул

Название

Примечание

Количество

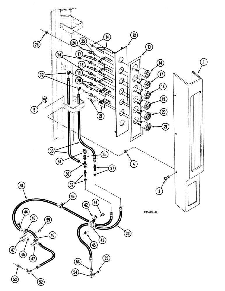
1

60-5940T1

COVER

- panel, gauges, with gray interiors

1шт.

1

60-5755T1

COVER

- panel, gauges, with tan interiors (Replaces 60-5788T1)

1шт.

3

19-6136

STUD

- quarter turn, cover

5шт.

4

19-5668

WASHER

- flat, 1/4 x 3/4 x 3/16 inch

5шт.

5

A36042

CLIP

RECEPTACLE - quarter turn

5шт.

60-5960T92

PANEL ASSY.

PANEL ASSEMBLY - gauge, with gray interiors, Includes: Ref. 12 - 25

1шт.

60-5788T91

PANEL

ASSEMBLY - gauge, with tan interiors, Includes: Ref. 12 - 25

1шт.

12

60-5756T1

PANEL

- gauge

1шт.

13

60-5939T1

DECAL

- gauge panel, with gray interiors

1шт.

13

60-5760T2

DECAL

- gauge panel, with tan interiors

1шт.

14

20-2018T1

HOURMETER

GAUGE - hourmeter

1шт.

17

20-2466T1

VOLTMETER

GAUGE - voltmeter

1шт.

18

20-2464T1

FUEL GAUGE

GAUGE - fuel level

1шт.

19

20-2465T1

GAUGE

- water temperature, engine

1шт.

20

60-6145T1

OIL PRESSURE GAUGE

GAUGE - oil pressure, engine

1шт.

21

60-6144T1

GAUGE

- oil pressure, transmission

1шт.

24

20-2442T2

HARNESS

- instrument panel mounting

1шт.

25

22-717

LAMP

BULB - lamp, no. 1893

6шт.

29

9411893

LOCK NUT,#10-32, GB

NUT - hex lock, no. 10 NF

4шт.

32

31-2740

ELBOW

- brass, 90 degree, 1/8 NPT x 7/16 inch thread

2шт.

33

31-2784

HOSE

ASSEMBLY - gauges, 42 inch

3шт.

34

L57937

SWITCH

- oil pressure, engine

1шт.

35

31-2741

HYD CONNECTOR,37 Degree, Sw, 7/16"-20 x 1/8"-27 NPTF

CONNECTOR - straight, 1/8 NPT x 7/16 inch thread

1шт.

36

31-2158

TEE,37 Degree, 7/16"-20, x 7/16"-20, Fem Sw Run

- adjustable, 7/16 x 7/16 x 7/16 inch thread

1шт.

37

31-1391

FITTING,Blkhd, 7/16"-20, 37 Degree x 7/16"-20, 37 Degree

CONNECTOR - straight, bulkhead, 7/16 x 7/16 inch thread

2шт.

41

31-2155

HOSE

ASSEMBLY - engine oil pressure, 108 inch

1шт.

42

31-1348

CLAMP

- hose

1шт.

43

31-1070

CLAMP,5/8", 3/8" Bolt, Double

- hose

1шт.

44

19-17

BOLT,Hex, 3/8" - 16 x 1", Gr 5, Full Thd

- hex, 3/8 NC x 1 inch

3шт.

45

19-78

SPECIAL NUT,3/8"-16, G5

- hex, 3/8 inch NC

3шт.

46

31-1776

MOUNTING CLIP

CLAMP - hose

3шт.

47

90-5994T1

SUPPORT

BRACKET - mounting, clamp

2шт.

52

9410278

ELBOW,90 Degree, 7/16"-20, 37 Degree x 7/16"-20, 37 Degree Fem Sw

- 90 degree, 7/16 x 7/16 inch thread

1шт.

53

31-608

HYD CONNECTOR,7/16"-20, 37 Degree x 1/4"-18, NPTF

CONNECTOR - straight, 1/4 NPT x 7/16 inch thread

1шт.

54

18-1538

ELBOW,90 Degree, 7/16"-20, 37 Degree x 7/16"-20, O-Ring

- 90 degree, 7/16 x 7/16 inch thread, Includes: Ref. 55

1шт.

55

31-1019

O-RING,4-1, 90 Duro, .351" ID x .072" Thk

1шт.

56

31-2543

ADAPTER

CONNECTOR - straight, orificed

1шт.

59

9427321

BOLT,3/8" - 16 x 1", Gr 8

- hex, 3/8 NC x 1 inch, grade 8

2шт.

Выбрано товаров: 38