Запчасти Case IH 9150 (8-08) - HYDRAULIC COUPLERS AND LINES (08) - HYDRAULICS

Схема запчастей Case IH 9150 - (8-08) - HYDRAULIC COUPLERS AND LINES (08) - HYDRAULICS
4
17
16
24
56
58
14
51
56
10
39
6
36
17
26
10
56
45
40
27
51
26
6
1
26
26
13
46
9
50
21
53
16
7
6
16
36
46
7
38
46
16
7
6
17
52
15
50
23
31
46
23
20
32
3
30
57
56
24
7
14
7
25
6
10
54
37
17
38
44
FIT
1:1
100%

Артикул

Название

Примечание

Количество

1

REF

INSTRUCTION

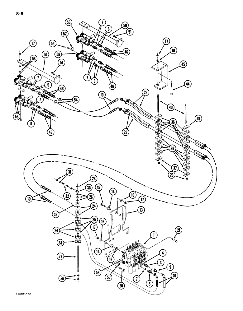
VALVE ASSEMBLY - control (See Figure 8-42)

1шт.

3

218-5062

HYD CONNECTOR,7/8"-14, 37 Degree x 7/8"-14, O-Ring

ADAPTER - straight, 7/8-14 inch flare x O-ring boss, Includes: Ref. 4

4шт.

4

31-644

O-RING,10-1, 90 Duro, .755" ID x .097" Thk

- 3/4 x 3/32 inch

4шт.

6

218-5060

HYD CONNECTOR,3/4" - 16 Male JIC x 7/8" - 14 Male ORB

Adapter, straight, O-ring boss, Incl. Ref 7 3/4"-16, 37º x 7/8"-14, O-Ring

12шт.

7

31-644

O-RING,10-1, 90 Duro, .755" ID x .097" Thk

- 3/4 x 3/32 inch

12шт.

9

386624R1

REDUCER,37 Degree, 7/8"-14, Fem x 3/4"-16 Male

ADAPTOR - reducer

4шт.

10

31-1769

HOSE

- control valve to tubes, 50 inch

16шт.

13

60-4358T2

SUPPORT

MOUNT - control valve

1шт.

14

196504C1

BUSHING

MOUNT - isolator, rubber

6шт.

15

19-19

BOLT,Hex, 3/8" - 16 x 1 1/2", Gr 5

- hex, 3/8 NC x 1-1/2 inch

3шт.

16

19-107

WASHER

- flat, 3/8 x 1 x 5/64 inch

12шт.

17

129-103

NUT,Hex, 3/8" - 16, Gr 5

NUT, 3/8"-16, G5

12шт.

20

19-21

BOLT,Hex, 3/8" - 16 x 2", Gr 5

- hex, 3/8 NC x 2 inch

2шт.

21

19-22

BOLT,Hex, 3/8" - 16 x 2 1/2", Gr 5

- hex, 3/8 NC x 2 inch

1шт.

23

50-2901T1

HYD TUBE

TUBE - hydraulic, Serial Range: hose-hose

8шт.

24

50-2551T1

CLAMP

- hose, split, halves

5шт.

25

19-6249

SPACER

- clamp

3шт.

26

19-77

NUT,5/16"-18, G5

- hex, 5/16 inch NC

8шт.

27

50-2713T1

STUD

- clamp, 5/16 NC x 8-1/2 inch

1шт.

30

19-6233

BALL JOINT

- clamp mount

1шт.

31

19-91

NUT,3/8"-24, G5

- hex, 3/8 inch NF

3шт.

32

19-6234

STUD

- mounting, ball joint, 3/8 NF x 3-1/2 inch

1шт.

36

50-2531T1

CLAMP

- tube, split halves

16шт.

37

50-2532T1

PLATE

COVER - clamp

2шт.

38

50-2533T1

PLATE

COVER - clamp

2шт.

39

90-6636T1

BAR

PLATE - mounting, clamp

1шт.

40

19-6182

STUD

- clamp, 5/16 NC x 6 inch

2шт.

44

19-279

BOLT,Hex, 3/8" - 16 x 3", Gr 5

- hex, 3/8 NC x 3 inch

2шт.

45

50-2904T1

HANGER

- mount, clamp

1шт.

46

50-2905T1

CONDUIT

GUARD - hose, protector, 45 inch (Order S119717 and, Serial Range: cut-length)

8шт.

50

50-2880T1

SUPPORT

MOUNT - coupler

2шт.

51

113-221

BOLT,Hex, 3/8" - 16 x 7/8", Gr 5

4шт.

52

50-2778T1

PLATE

MARKER - coupler, No. 1

1шт.

52

50-2779T1

PLATE

MARKER - coupler, No. 2

1шт.

52

50-2780T1

PLATE

MARKER - coupler, No. 3

1шт.

52

50-2781T1

PARTITION

MARKER - coupler, No. 4

1шт.

53

113-6

BOLT,Hex, 1/4" - 20 x 3/8", Gr 5, Full Thd

4шт.

54

19-135

CABLE TIE

STRAP - nylon

1шт.

56

REF

INSTRUCTION

COUPLER - hydraulic (See Figure 8-50)

2шт.

57

218-5158

PLUG,Hex Hd, 1 1/16"-12 ORB

Includes: Ref. 58 Hex Hd, 1 1/16"-12 ORB

1шт.

58

237-6012

O-RING,0.116" Thk x 0.924" ID, -912, Cl 6, 90 Duro

- 59/64 ID x 7/8 inch wide

1шт.

35-1756T91

KIT - fourth spool valve (Includes parts needed to add additional remote hydraulic spool) (Machinery item)

1шт.

Выбрано товаров: 42