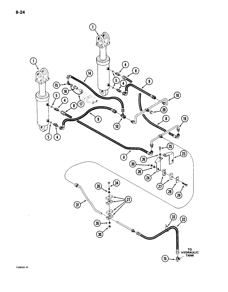
Запчасти Case IH 9150 (8-24) - THREE POINT HITCH HYDRAULICS, MANUAL CONTROLLED HITCH SYSTEM, IF EQUIPPED (08) - HYDRAULICS

Схема запчастей Case IH 9150 - (8-24) - THREE POINT HITCH HYDRAULICS, MANUAL CONTROLLED HITCH SYSTEM, IF EQUIPPED (08) - HYDRAULICS
4
24
4
26
8
26
33
30
31
5
9
19
25
15
18
26
14
1
20
9
32
27
5
26
5
1
8
27
17
10
30
4
4
8
15
29
23
8
28
34
16
FIT
1:1
100%

Артикул

Название

Примечание

Количество

1

REF

INSTRUCTION

CYLINDER ASSEMBLY - three point hitch (See Figure 8-34)

2шт.

4

31-329

HYD CONNECTOR,3/4"-16, 37 Degree x 3/4"-16, O-Ring

CONNECTOR - straight, 3/4 inch thread, Includes: Ref. 5

4шт.

5

31-1335

O-RING,8-1, 90 Duro, .644" ID x .087" Thk

- 41/64 x 3/32 inch

4шт.

8

31-2652

HOSE ASSY.

drain, cylinder, 26.5 inches long

2шт.

9

31-2651

HOSE

lift, cylinder, 28 inches long

2шт.

10

31-1355

TEE,37 Degree, 3/4"-16 x 3/4"-16, Fem Sw Run

- adjustable, 3/4 inch thread

1шт.

14

32-186

HOSE ASSY.

lift, tee coupler, 56 inches long

1шт.

15

31-321

ELBOW,90 Degree, 3/4"-16, 37 Degree x 1/2"-14, NPTF

- 90 degree, 1/2 PT x 3/4 inch

2шт.

16

1-7141

FITTING

CARTRIDGE - coupler, remote

1шт.

17

1-7142

CAP

- coupler dust, rubber

1шт.

18

50-2908T1

TUBE ASSY.

TUBE - hose to hose, cylinder lift

1шт.

19

50-2907T1

TUBE ASSY.

TUBE - hose to hose, cylinder drain

1шт.

20

218-756

CAP,37 Degree, 7/8"-14

Drain tube 37º, 7/8"-14

1шт.

23

50-2910T1

BRACKET

- clamp mounting, left

1шт.

24

50-2911T1

BRACKET

- clamp mounting, right

1шт.

25

19-16

BOLT,Hex, 3/8" - 16 x 3/4", Gr 5

- hex, 3/8 NC x 3/4 inch

2шт.

26

19-700

WASHER,5/16"

- flat, 5/16 x 7/8 x 5/64 inch

4шт.

27

50-2531T1

CLAMP

- split halves

12шт.

28

50-2532T1

PLATE

COVER - clamp

2шт.

29

19-9

BOLT,5/16" - 18 x 2", Gr 5

- hex, 5/16 NC x 2 inch

2шт.

30

19-77

NUT,5/16"-18, G5

- hex, 5/16 inch NC

2шт.

31

50-2906T1

TUBE ASSY.

TUBE - drain, tube to drain hose

1шт.

32

220317H2

HOSE

- drain tube to hydraulic tank

1шт.

33

31-2600

STRAP

- nylon

2шт.

34

19-724T1

BOLT

- hex, 5/16 NC x 2-1/2 inch

1шт.

35-1762T91

KIT

- manual three point hitch, when tractor is equipped with a PTO system (Machinery item)

1шт.

35-1765T91

KIT

- manual three point hitch, when tractor is not equipped with a PTO system (Machinery item)

1шт.

60-42588T1

PLUG flow control access

1шт.

Выбрано товаров: 0