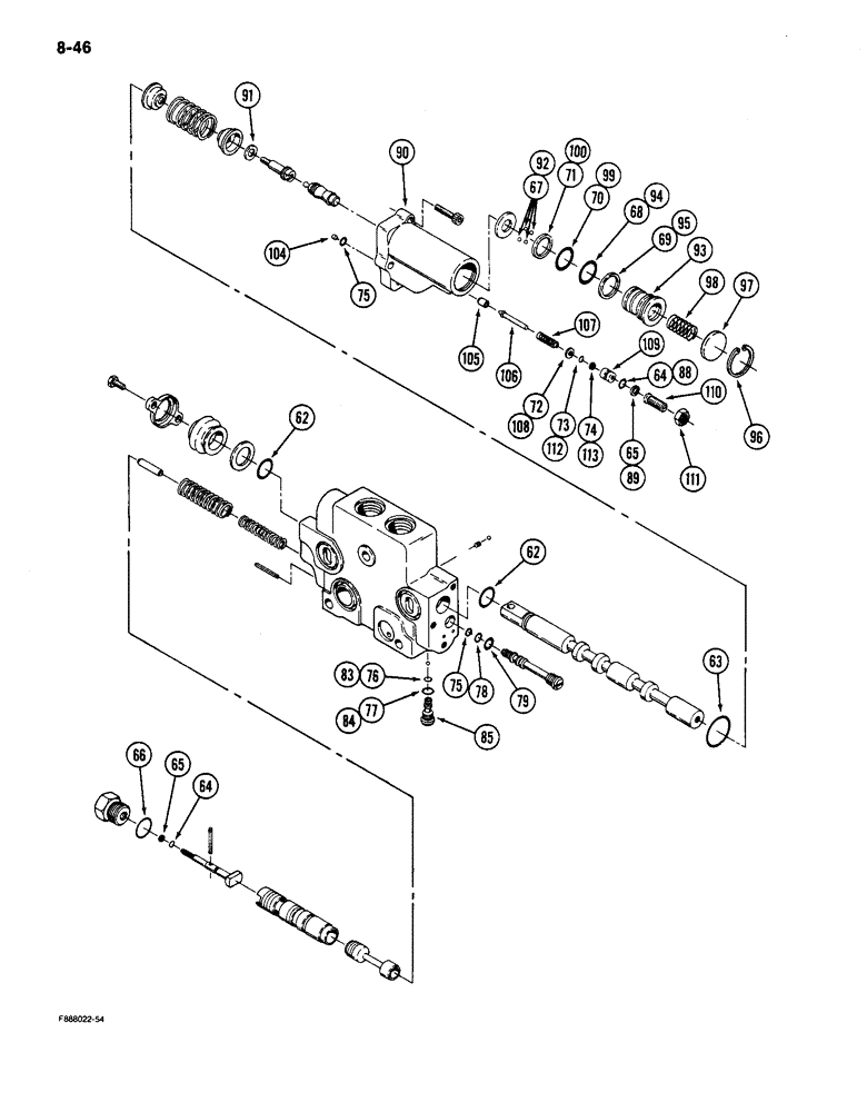
Запчасти Case IH 9150 (8-46) - HYDRAULIC REMOTE VALVE SECTION, FIRST, SECOND, THIRD AND FOURTH WITH FLOAT, (CONT) (08) - HYDRAULICS

Схема запчастей Case IH 9150 - (8-46) - HYDRAULIC REMOTE VALVE SECTION, FIRST, SECOND, THIRD AND FOURTH WITH FLOAT, (CONT) (08) - HYDRAULICS
98
79
69
104
105
88
91
62
83
93
78
95
68
100
64
77
72
73
70
75
75
84
96
71
65
89
63
99
107
111
97
74
66
112
113
85
110
67
109
64
65
92
62
94
106
108
76
90
FIT
1:1
100%

Артикул

Название

Примечание

Количество

50-2388T1

SEAL KIT

SEAL KIT - detent, primary and secondary, continued, Includes: Ref. 62 - 79 and 1 - 58 on Fig. 8-44

1шт.

62

NSS

NOT SOLD SEPARAT

O-RING - seal, spool

2шт.

63

NSS

NOT SOLD SEPARAT

O-RING - seal, detent housing

1шт.

64

NSS

NOT SOLD SEPARAT

O-RING - seal

2шт.

65

NSS

NOT SOLD SEPARAT

RING - backup

2шт.

66

NSS

NOT SOLD SEPARAT

O-RING - plug

1шт.

67

NSS

NOT SOLD SEPARAT

BALL - steel

8шт.

68

NSS

NOT SOLD SEPARAT

O-RING - seal, kickout piston

1шт.

69

NSS

NOT SOLD SEPARAT

RING - backup

1шт.

70

NSS

NOT SOLD SEPARAT

O-RING - seal, kickout piston

1шт.

71

NSS

NOT SOLD SEPARAT

RING - backup

1шт.

72

NSS

NOT SOLD SEPARAT

WASHER - spring

1шт.

73

NSS

NOT SOLD SEPARAT

O-RING - seal, poppet

1шт.

74

NSS

NOT SOLD SEPARAT

RING - backup

1шт.

75

NSS

NOT SOLD SEPARAT

O-RING - seal

3шт.

76

NSS

NOT SOLD SEPARAT

O-RING - seal, shuttle, secondary

1шт.

77

NSS

NOT SOLD SEPARAT

O-RING - seal, shuttle, secondary

1шт.

78

NSS

NOT SOLD SEPARAT

O-RING - seal, shuttle, primary

1шт.

79

NSS

NOT SOLD SEPARAT

O-RING - seal, shuttle, primary

1шт.

A47210

PLUG

ASSEMBLY - shuttle, secondary, Includes: Ref. 83 - 85 and seal kit

1шт.

50-1654T1

SEAL KIT

KIT - secondary shuttle, Includes: Ref. 83 - 85

1шт.

83

21590R1

O-RING,0.07" Thk x 0.176" ID, -8, Cl 6, 90 Duro

- poppet

1шт.

84

218-5002

O-RING,0.064" Thk x 0.301" ID, -903, Cl 6, 90 Duro

3-1, .301" ID x .064" Thk

1шт.

85

A47204

PLUG

BODY - shuttle secondary

1шт.

A52435

HOUSING ASSY.

HOUSING ASSEMBLY - detent, Includes: Ref. 88 - 113

1шт.

88

NSS

NOT SOLD SEPARAT

O-RING - seal, poppet

1шт.

89

NSS

NOT SOLD SEPARAT

RING - backup

1шт.

90

NSS

NOT SOLD SEPARAT

HOUSING - detent

1шт.

91

50-2379T1

WASHER

- guide

1шт.

92

NSS

NOT SOLD SEPARAT

BALL - steel

8шт.

93

50-2380T1

PISTON

- kickout

1шт.

94

NSS

NOT SOLD SEPARAT

O-RING - seal, piston

1шт.

95

NSS

NOT SOLD SEPARAT

RING - backup

1шт.

96

50-2381T1

RING, SNAP

RING - snap

1шт.

97

50-2382T1

RETAINER

- piston

1шт.

98

50-2383T1

SPRING

- detent

1шт.

99

NSS

NOT SOLD SEPARAT

O-RING - seal, piston

1шт.

100

NSS

NOT SOLD SEPARAT

RING - backup

1шт.

104

50-1663T1

PLUG

- orifice

1шт.

105

50-1668T1

SEAT

- poppet

1шт.

106

NSS

NOT SOLD SEPARAT

POPPET - relief

1шт.

107

NSS

NOT SOLD SEPARAT

SPRING - poppet

1шт.

108

NSS

NOT SOLD SEPARAT

WASHER - spring

1шт.

109

50-2384T1

GOVERNOR

PISTON - regulator

1шт.

110

50-1717T1

SET SCREW

- set, slotted

1шт.

111

19-868

JAM NUT,Jam, 3/8"-24, G5

- hex jam, 3/8 inch NF

1шт.

112

NSS

NOT SOLD SEPARAT

O-RING - seal, poppet

1шт.

113

NSS

NOT SOLD SEPARAT

RING - backup

1шт.

Выбрано товаров: 48