Запчасти Case IH 9150 (9-52) - VINYL SEAT, MECHANICAL SUSPENSION (09) - CHASSIS/ATTACHMENTS

Схема запчастей Case IH 9150 - (9-52) - VINYL SEAT, MECHANICAL SUSPENSION (09) - CHASSIS/ATTACHMENTS
9
3
10
24
28
26
23
11
21
8
22
2
6
25
27
5
10
27
7
1
4
20
FIT
1:1
100%

Артикул

Название

Примечание

Количество

1340224C1

SEAT ASSY.

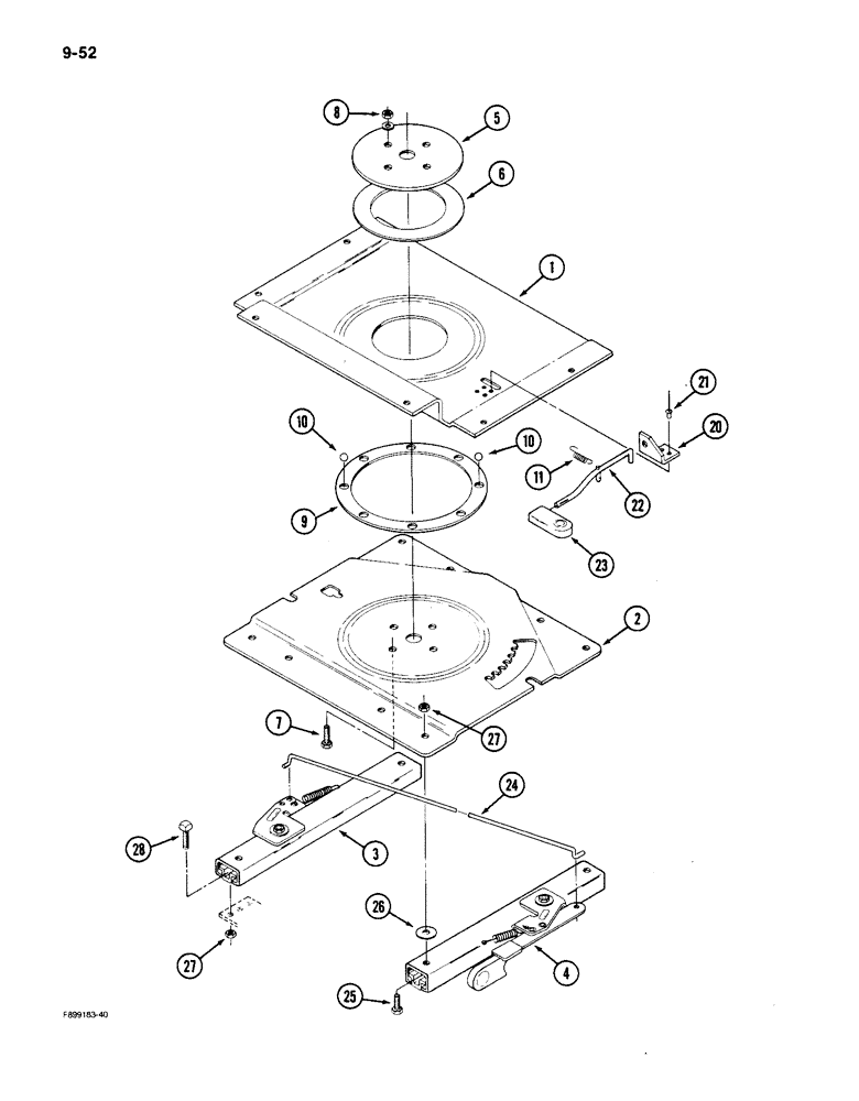
SEAT ASSEMBLY - mechanical, with vinyl upholstery (Continued), Includes: Ref. 1 - 28 and swivel and slide assembly

1шт.

1343856C1

SUPPORT

SWIVEL AND SLIDE ASSEMBLY - seat, Includes: Ref. 1 - 8

1шт.

1

1343857C1

LARGE PLATE

PLATE - swivel, upper

1шт.

2

1343858C1

LARGE PLATE

PLATE - swivel, lower

1шт.

3

1981823C1

SLIDE

ASSEMBLY - seat, right

1шт.

4

1981822C1

SLIDE

ASSEMBLY - seat, left, with handle

1шт.

5

1343859C1

RETAINER

- swivel

1шт.

6

1343860C1

PLATE

PLATE - swivel bearing

1шт.

7

413-620

BOLT,Hex, 3/8" - 16 x 1-1/4", Gr 5

- hex, 3/8 NC x 1-1/4 inch

4шт.

8

230-4216

LOCK NUT,3/8"-16, GA

NUT - hex lock, 3/8 inch NC

4шт.

9

A49555

LARGE PLATE

RETAINER - ball

1шт.

10

211-315

BALL,1/2" Dia

- 1/2 inch diameter

8шт.

11

N8680

SPRING

- latch rod

1шт.

20

1343861C1

SUPPORT

BRACKET - mounting, latch rod

1шт.

21

49-36

RIVET,Truss Hd, 3/16" x 3/8"

- truss head, steel, 3/16 x 3/8 inch

2шт.

22

1343862C1

ROD

ASSEMBLY - latch

1шт.

23

1343863C1

KNOB

- control, swivel

1шт.

24

1981825C1

ELECTRICAL WIRE

WIRE - slide actuator

1шт.

25

413-512

BOLT,Hex, 5/16" - 18 x 3/4", Gr 5

- hex, 5/16 NC x 5/8 inch

4шт.

26

495-11034

WASHER,5/16", SAE

flat 5/16", SAE

4шт.

27

131-351

LOCK NUT,5/16"-18, GA

NUT - hex lock, 5/16 inch NC

8шт.

28

117-101

BOLT

BOLT - square head, 5/16 NC x 3/4 inch

4шт.

Выбрано товаров: 22