Запчасти Case IH 9150 (2-10) - ETHER STARTING SYSTEM (02) - ENGINE

Схема запчастей Case IH 9150 - (2-10) - ETHER STARTING SYSTEM (02) - ENGINE
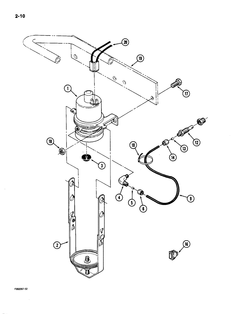
1
2
3
4
18
17
13
12
5
19
6
10
20
16
9
14
FIT
1:1
100%

Артикул

Название

Примечание

Количество

35-1759T91

KIT

- cold start (Order components), Includes: Ref. 1 - 18

1шт.

1

A143381

SOLENOID

ASSEMBLY - ether injection, Includes: Ref. 2 - 6

1шт.

2

D77648

BAIL

HANGER - ether can

1шт.

3

395686R1

GASKET

- can

1шт.

4

222-615

ELBOW,90 Degree, 5/16"-24 x 1/8" NPT, Comp

1/8 tube, Incl. Ref 5 & 6 90º, 5/16"-24 x 1/8" NPT, Comp

1шт.

5

222-650

SLEEVE,1/8" Tube, Comp

1шт.

6

222-660

FLANGE NUT,5/16"-24, 45 Degree Fl, Comp

1/8" tube 5/16"-24, 45º Fl, Comp

1шт.

9

31-1861

TUBE,0.073" ID, 48" Length

- ether, 1/8 inch (Order 29-53T3 and cut to length)

1шт.

10

22-824

CABLE TIE,3/16" x 7 1/4"

STRAP - nylon

2шт.

12

90-7034T1

PACKAGE

NOZZLE - atomizer, Includes: Ref. 13 and 14

1шт.

13

222-650

SLEEVE,1/8" Tube, Comp

1шт.

14

222-660

FLANGE NUT,5/16"-24, 45 Degree Fl, Comp

1/8" tube 5/16"-24, 45º Fl, Comp

1шт.

16

1964751C1

SWITCH

- rocker (in cab)

1шт.

17

19-6

BOLT,5/16" - 18 x 3/4", Gr 5

- hex, 5/16 NC x 3/4 inch

2шт.

18

19-77

NUT,5/16"-18, G5

- hex, 5/16 inch NC

2шт.

19

REF

INSTRUCTION

HANDLE - grab (See Figure 9-100)

1шт.

20

REF

INSTRUCTION

HARNESS - engine (See Figure 4-14)

1шт.

Выбрано товаров: 17