Запчасти Case IH 9150 (2-12) - EXHAUST SYSTEM (02) - ENGINE

Схема запчастей Case IH 9150 - (2-12) - EXHAUST SYSTEM (02) - ENGINE
16
14
7
2
1
17
14
13
15
3
7
5
12
6
8
4
5
FIT
1:1
100%

Артикул

Название

Примечание

Количество

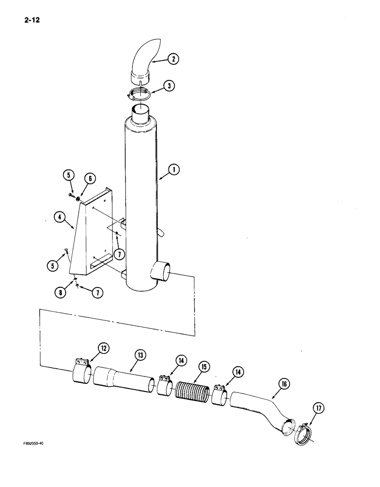
1

90-5709T2

MUFFLER

- exhaust

1шт.

2

90-5796T1

PIPE, EXHAUST SYSTEM

STACK - exhaust, muffler

1шт.

3

31-1537

MOUNTING CLIP

CLAMP ASSEMBLY - exhaust

1шт.

4

90-5779T2

SUPPORT

- mounting, muffler

1шт.

5

19-17

BOLT,Hex, 3/8" - 16 x 1", Gr 5, Full Thd

- hex, 3/8 NC x 1 inch

8шт.

6

19-1059

WASHER

- flat, hardened, 3/8 inch

4шт.

7

232-4136

LOCK NUT,3/8"-16, GC

NUT - hex, lock, 3/8 inch NC

8шт.

8

19-107

WASHER

- flat, 3/8 inch

4шт.

12

31-1061

MOUNTING CLIP

CLAMP ASSEMBLY - exhaust

1шт.

13

90-5860T1

TUBE,4" - 5" OD x 18.38" L

- exhaust

1шт.

14

31-2465

CLAMP

ASSEMBLY - exhaust

2шт.

15

90-5858T1

TUBE,4" ID x 4.25" OD x 9" L

- flex, exhaust

1шт.

16

90-6547T1

EXHAUST SYSTEM PIPE,4" OD

TUBE - exhaust, to turbocharger

1шт.

17

90-3606T1

CLAMP,120.65mm

CLAMP - exhaust, 4.75"

1шт.

Выбрано товаров: 14