Запчасти Case IH 9150 (4-52) - CONTROL TRACTION DIFFERENTIAL HARNESSES (04) - ELECTRICAL SYSTEMS

Схема запчастей Case IH 9150 - (4-52) - CONTROL TRACTION DIFFERENTIAL HARNESSES (04) - ELECTRICAL SYSTEMS
15
12
4
14
13
6
1
2
5
12
3
7
12
FIT
1:1
100%

Артикул

Название

Примечание

Количество

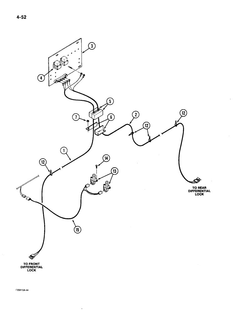
1

20-2356T1

HARNESS

- front differential

1шт.

2

20-2303T1

HARNESS

- rear differential

1шт.

3

REF

INSTRUCTION

PLATE - relay mounting (See Figure 4-12)

1шт.

4

REF

INSTRUCTION

HARNESS - relay, differential (See Figure 4-12)

2шт.

5

60-6066T1

FOAM

- sealing

2шт.

6

60-6065T1

ANGLE BAR

ANGLE - retaining, foam

2шт.

7

231-1445

NUT,5/16"-18, GB

NUT - hex lock, 5/16 inch NC

4шт.

12

22-824

CABLE TIE,3/16" x 7 1/4"

STRAP - tie, 7 inch

1шт.

13

20-1988T1

IGNITION SWITCH

SWITCH - on/off, differential

2шт.

14

113-1

BOLT,Hex, 1/4" - 20 x 1/2", Gr 5

4шт.

15

60-6341T1

HARNESS

- switch, differential lock

1шт.

Выбрано товаров: 0