Запчасти Case IH 9150 (5-04) - STEERING COLUMN ASSEMBLY (05) - STEERING

Схема запчастей Case IH 9150 - (5-04) - STEERING COLUMN ASSEMBLY (05) - STEERING
25
29
30
41
28
6
42
48
10
14
33
17
21
15
13
11
12
5
22
32
35
20
1
23
4
37
34
49
16
24
21
31
36
47
2
40
43
3
FIT
1:1
100%

Артикул

Название

Примечание

Количество

1-7630

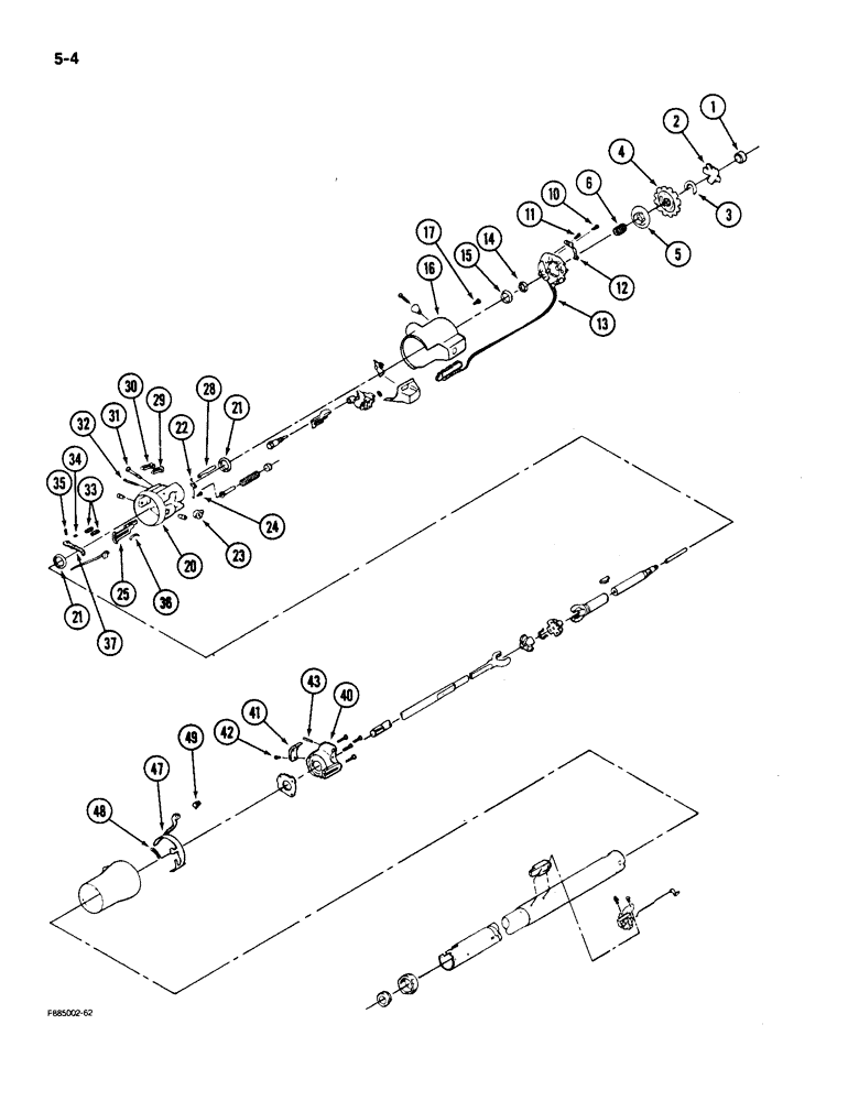
STEERING COLUMN

COLUMN ASSEMBLY - steering, tilt and telescoping, Includes: Ref. 1 - 49 and 51 - 97 on Fig. 5 - 6

1шт.

1

1-1320

BUMPER

- shaft, retracted steering

1шт.

2

1-1329

RETAINER

- carrier snap ring

1шт.

3

1-1331

RETAINER

- shaft lock

1шт.

4

1-1325

ARRESTER

LOCK - steering shaft

1шт.

5

1-1215

SUPPORT

CARRIER ASSEMBLY

1шт.

6

1-4507

SPRING

- bearing, upper

1шт.

10

1-1333

SCREW

- machine, binding head

3шт.

11

1-6924

SCREW

- machine, flanged crown head

1шт.

12

1-4466

ARM ASSY.

ARM ASSEMBLY - signal switch

1шт.

13

1-4497

SWITCH

ASSEMBLY - turn signal

1шт.

14

1-1336

SEAT

SEAL - bearing, inner race

1шт.

15

1-4502

RACE

BEARING - inner race

1шт.

16

2-1454

HOUSING

COVER - lock housing

1шт.

17

1-6926

SCREW,Cross Oval Hd

- machine, oval head

3шт.

1-4474

HOUSING ASSY.

HOUSING ASSEMBLY - lock, Includes: Ref. 20 - 37

1шт.

20

NSS

NOT SOLD SEPARAT

HOUSING - lock

1шт.

33-1174T1

KIT

- switch actuator, Includes Ref. 14, 21-25

1шт.

21

NSS

NOT SOLD SEPARAT

BEARING - lock housing

2шт.

22

NSS

NOT SOLD SEPARAT

SPRING - lock bolt

1шт.

23

NSS

NOT SOLD SEPARAT

SECTOR - switch actuator

1шт.

24

NSS

NOT SOLD SEPARAT

SCREW - machine, flanged head

1шт.

25

NSS

NOT SOLD SEPARAT

RACK - switch actuator

1шт.

28

19-5460

LOCK BOLT

BOLT - lock

1шт.

29

1-1227

BRAKE SHOE

SHOE - lock, steering wheel

1шт.

30

1-1226

BRAKE SHOE

SHOE - lock, steering wheel

1шт.

31

1-1225

DRIVE SHAFT

1шт.

32

1-1220

SPLIT PIN/SAFETY PIN

PIN - dowel

1шт.

33

1-1301

SPRING

- shoe

2шт.

34

1-1230

SPRING

- release lever

1шт.

35

1-1221

PIN

- release lever

1шт.

36

1-1229

SPRING

- rack preload

1шт.

37

1-4476

CONTROL LEVER

LEVER - shoe release

1шт.

1-4493

SUPPORT ASSY.

SUPPORT ASSEMBLY - housing, Includes: Ref. 40 -43

1шт.

40

NSS

NOT SOLD SEPARAT

SUPPORT - housing

1шт.

41

1-4494

FIXING BRACKET

PLATE - retaining, shroud

1шт.

42

19-5459

SCREW

- machine, oval head

2шт.

43

1-6925

DOWEL

Pin

1шт.

47

1-4501

LEVER

- release, key

1шт.

48

1-4506

SPRING

- release lever

1шт.

49

1-4499

PAD

- release lever

1шт.

Выбрано товаров: 41