Запчасти Case IH 9170 (6-02) - TRANSMISSION MOUNTING (06) - POWER TRAIN

Схема запчастей Case IH 9170 - (6-02) - TRANSMISSION MOUNTING (06) - POWER TRAIN
4
3
6
3
5
2
6
9
1
4
10
5
2
FIT
1:1
100%

Артикул

Название

Примечание

Количество

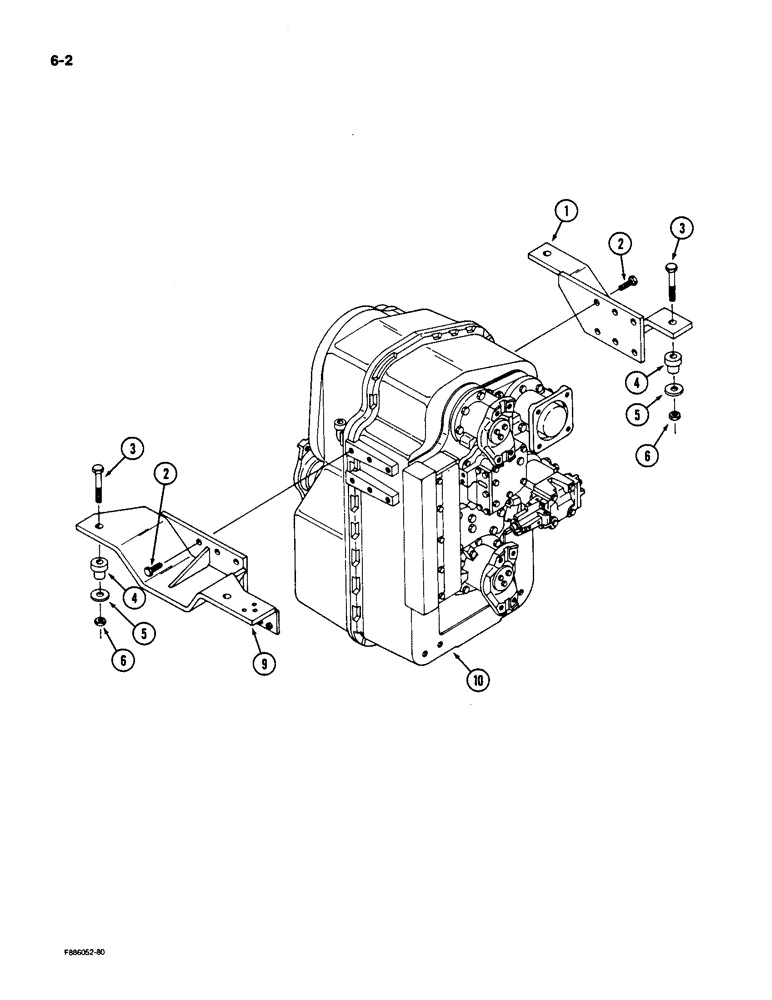
1

90-6652T1

MOUNTING PARTS

MOUNT - transmission, left hand

1шт.

2

113-607

BOLT,Hex, 5/8" - 11 x 1-1/2", Gr 5, Full Thd

12шт.

3

113-710

BOLT,Hex, 3/4" - 10 x 4", Gr 5

4шт.

4

47-4172

SHOCK ABSORBER

MOUNT - rubber, isolator

4шт.

5

19-5781

WASHER

- flat, 3/4 x 2-3/4 x 5/16 inch

4шт.

6

19-85

LOCK NUT

- hex, lock, 3/4 inch NC

4шт.

9

90-6653T1

MOUNTING PARTS

MOUNT - transmission, right hand

1шт.

10

90-6563T91

TRANSMISSION

ASSEMBLY

1шт.

Выбрано товаров: 8