Запчасти Case IH 9170 (6-52) - DRIVESHAFT MOUNTING (06) - POWER TRAIN

Схема запчастей Case IH 9170 - (6-52) - DRIVESHAFT MOUNTING (06) - POWER TRAIN
7
17
19
20
15
9
5
3
25
18
9
16
21
24
23
6
4
1
22
9
2
9
8
FIT
1:1
100%

Артикул

Название

Примечание

Количество

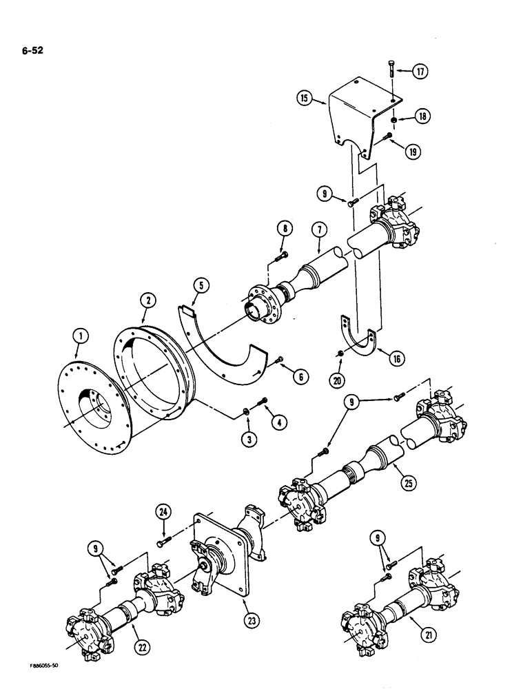
1

90-2883T2

DAMPER

- vibration

1шт.

2

90-4389T1

SLINGER

- flywheel

1шт.

3

25896R1

WASHER,13/32" x 13/16" x .09", HDN

- flat, hardened, 3/8 x 13/16 x 1/16 inch

12шт.

4

24840R1

BOLT,Hex, 3/8" - 16 x 1", Gr 8

12шт.

5

90-4390T1

COVER

- flywheel housing

2шт.

6

24848R1

BOLT,Hex, 7/16" - 14 x 3/4", Gr 8

Hex, 7/16"-14 x 3/4", G8

6шт.

7

REF

INSTRUCTION

DRIVESHAFT ASSEMBLY - input, See Figure 6-54

1шт.

8

9419153

BOLT,5/8" - 11 x 1 1/2", Gr 5

- hex, 5/8 NC x 1-1/2 inch

10шт.

9

25279R1

BOLT,Hex, 1/2" - 20 x 2", Gr 8

- hex, 1/2 NF x 2 inch, Grade 8

28шт.

15

90-6742T1

SHIELD

- top, driveshaft

1шт.

16

90-6743T1

SHIELD

- bottom, driveshaft

1шт.

17

19-42

BOLT,1/2" - 13 x 2 1/4", Gr 5

- hex, 1/2 NC x 2-1/4 inch

2шт.

18

19-81

NUT,1/2"-13, G5

- hex, 1/2 inch NC

2шт.

19

19-7

BOLT,Hex, 5/16" - 18 x 1", Gr 5

- hex, 5/16 NC x 1 inch

4шт.

20

231-1445

NUT,5/16"-18, GB

NUT - hex, lock, 5/16 inch NC

4шт.

21

REF

INSTRUCTION

DRIVESHAFT ASSEMBLY - front axle, See Figure 6-54

1шт.

22

REF

INSTRUCTION

DRIVESHAFT ASSEMBLY - rear axle, front, See Figure 6-55

1шт.

23

REF

INSTRUCTION

BEARING ASSEMBLY - hanger, See Figure 6-54

1шт.

24

19-822

BOLT,Hex, 5/8" - 11 x 1 1/2", Gr 8, Full Thd

- hex, 5/8 NC x 1-1/2 inch, Grade 8

4шт.

25

REF

INSTRUCTION

DRIVESHAFT ASSEMBLY - rear axle, rear, See Figure 6-55

1шт.

Выбрано товаров: 20