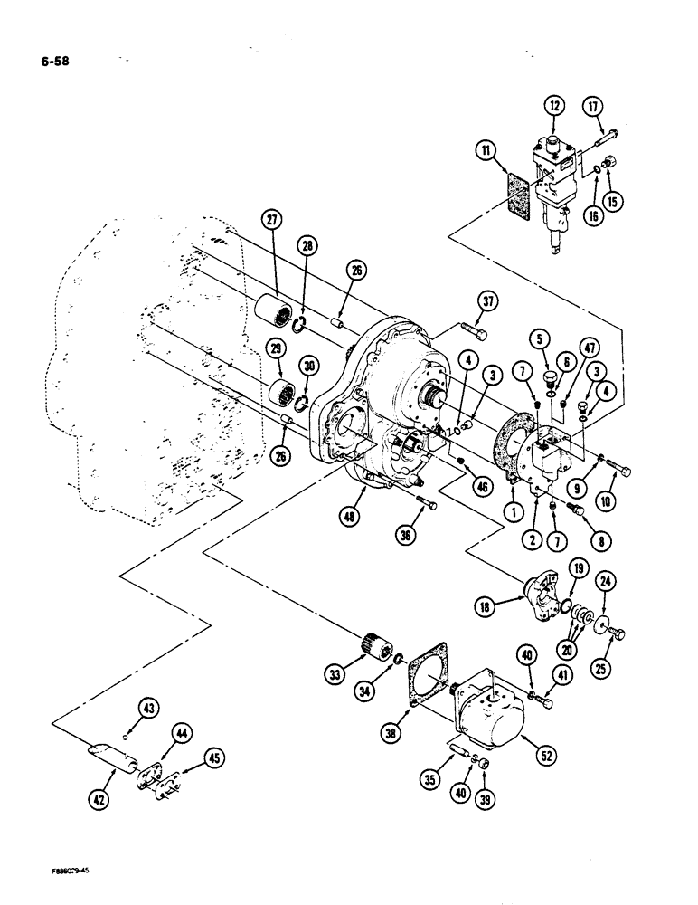
Запчасти Case IH 9170 (6-58) - PTO ASSEMBLY (06) - POWER TRAIN

Схема запчастей Case IH 9170 - (6-58) - PTO ASSEMBLY (06) - POWER TRAIN
11
15
37
20
7
8
6
12
4
25
18
4
33
52
10
5
29
19
43
9
47
40
45
36
16
2
46
1
17
3
3
24
38
20
26
27
34
40
28
44
7
41
48
30
35
39
42
FIT
1:1
100%

Артикул

Название

Примечание

Количество

90-6280T91

CLUTCH

PTO ASSEMBLY, Includes: Ref. 1 - 48, 1 - 48 on Figure 6-60, 1 - 21 on Figure 6-62 and 1 - 26 on Figure 6-64

1шт.

1

S8540S00F

GASKET

- servo case

1шт.

Part of PTO Overhaul Kit, S9870S00F.

1шт.

2

S8530S00F

CASE

- PTO servo

1шт.

3

S1030S00F

PLUG

- O-ring boss, Includes: Ref. 4

3шт.

4

S1040S00F

O-RING

- plug

3шт.

Part of PTO Overhaul Kit, S9870S00F.

1шт.

5

S8550S00F

PLUG

- O-ring boss, Includes: Ref. 6

1шт.

6

S8560S00F

GASKET

O-RING - plug

1шт.

Part of PTO Overhaul Kit, S9870S00F.

1шт.

7

STX99700F

PLUG

- pipe

2шт.

8

SM8124030

BOLT

BOLT - hex, M10 x 1.25 x 30 mm

6шт.

9

SM8915140

PLATE, LOCKING

WASHER - lock, M10

3шт.

10

SM8124080

BOLT

BOLT - hex, M10 x 1.25 x 60 mm

3шт.

11

S9510S00F

GASKET

- control valve

1шт.

Part of PTO Overhaul Kit, S9870S00F.

1шт.

12

REF

INSTRUCTION

VALVE ASSEMBLY - PTO control, See Figure 6-64

1шт.

15

S1390S00F

PLUG

- O-ring boss, Includes: Ref. 16

2шт.

16

S1320S00F

O-RING

- plug

2шт.

17

SM8120880

BOLT

BOLT - hex, M8 x 1.25 x 80 mm

4шт.

18

S8830S00F

FORK

YOKE - PTO output

1шт.

19

S8950S00F

GASKET

O-RING - yoke seal

1шт.

Part of PTO Overhaul Kit, S9870S00F.

1шт.

20

S9950S00F

SHIM,0.1mm Thk

(0.10 mm), Yoke .004" Thk

1шт.

20

S9960S00F

SHIM,0.31mm Thk

(0.30 mm), Yoke .012" Thk

1шт.

20

S9970S00F

SHIM,0.51mm Thk

(0.50 mm), Yoke .020" Thk

1шт.

20

S9980S00F

SHIM,0.71mm Thk

(0.7 mm), Yoke .028" Thk

1шт.

24

S8860S00F

THRUST WASHER

WASHER - retainer

1шт.

25

SM8134635

BOLT

BOLT - hex, M16 x 1.50 x 35 mm, Grade 10.9

1шт.

26

33-1467T1

DOWEL

PIN - dowel

2шт.

27

S8600S00F

SLEEVE

- drive coupling

1шт.

28

SM922247

RING, SNAP

RING - snap

1шт.

29

33-1452T1

COUPLING

- pump drive

1шт.

30

33-1445T1

RING, SNAP

RING - snap

1шт.

33

S8940S00F

ADAPTER

- pump drive

1шт.

34

33-1447T1

RING, SNAP

RING - snap

1шт.

35

SM8267455

STUD

- M14 x 1.5 x 55 mm

2шт.

36

SM8124280

BOLT

BOLT - hex, M12 x 1.25 x 80 mm

4шт.

37

SM8124290

BOLT

BOLT - hex, M12 x 1.25 x 90 mm

7шт.

38

50-1388T1

GASKET

- pump

1шт.

Part of PTO Overhaul Kit, S9870S00F.

1шт.

39

SM8911244

NUT

- M14 x 1.5

2шт.

40

SM8915144

PLATE, LOCKING

WASHER - lock, M14

4шт.

41

SM8124460

BOLT

BOLT - hex, M8 x 1.50 x 60 mm

2шт.

42

S1520S00F

PIPE

TUBE - oil pickup

1шт.

43

SM1470196

BALL

- steel

1шт.

44

S1620S00F

GASKET

- oil pickup

1шт.

45

S1700S00F

LARGE PLATE

PLATE - suction

1шт.

46

S8930S00F

PLUG

- orifice

1шт.

47

S8920S00F

PLUG

- orifice

1шт.

48

REF

INSTRUCTION

CLUTCH ASSEMBLY - PTO, See Figure 6-62

1шт.

52

REF

INSTRUCTION

PUMP - lubrication, See Figure 6-28

1шт.

S9870S00F

KIT

- PTO overhaul, Includes: Ref. 1, 4, 6, 11, 19 and 38.

1шт.

Выбрано товаров: 0