Запчасти Case IH 9170 (8-32) - THREE POINT HITCH CONTROLS, P.I.N. JCB0002056 AND AFTER (08) - HYDRAULICS

Схема запчастей Case IH 9170 - (8-32) - THREE POINT HITCH CONTROLS, P.I.N. JCB0002056 AND AFTER (08) - HYDRAULICS
18
38
35
32
32
33
28
34
6
29
12
49
19
36
53
47
10
30
58
11
33
23
22
3
42
62
4
54
46
31
32
53
10
61
17
37
34
13
57
21
1
64
9
55
44
34
2
48
33
5
56
24
63
43
20
45
33
14
FIT
1:1
100%

Артикул

Название

Примечание

Количество

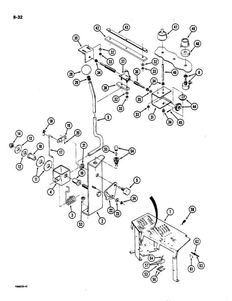
1

REF

INSTRUCTION

PANEL - control console, See Figure 9-78 and 9-80

1шт.

2

60-6150T1

BRACKET

- lever mounting

1шт.

3

60-4294T1

SPRING

- lever return

1шт.

4

60-3941T1

LEVER

Actuating, Linkage

1шт.

5

20-2125T2

POTENTIOMETER

Raise and Lower

1шт.

6

20-2093T1

POTENTIOMETER

Lower Rate

1шт.

9

60-3943T1

THREADED ROD

ROD - control lever

1шт.

10

90-4367T1

BRONZE BUSHING

BUSHING - flanged, pivot

2шт.

11

25711R1

WASHER

- flat, 5/8 x 1-3/4 x 7/64 inch

2шт.

12

19-109

WASHER,1/2"

- flat, 1/2 x 1-3/8 x 7/64 inch

1шт.

13

19-5648

SPRING WASHER

- spring, conical, 1/2 inch

1шт.

14

19-653

LOCK NUT

- hex, lock, 1/2 inch NC

1шт.

17

60-2802T1

STEM

Rod, Linkage, Potentiometer Actuating

1шт.

18

60-2404T1

RETAINER

- linkage rod

2шт.

19

60-1561T2

ARM

Actuating, Potentiometer

1шт.

20

178-863

SET SCREW,Hex Soc, #4-40 x 3/8"

SCREW - set, No. 4 NC x 3/8 inch

1шт.

21

60-6155T1

NUT

Potentiometer Mounting

1шт.

22

60-6118T1

BRACKET

Potentiometer Adjusting

1шт.

23

19-105

WASHER,1/4", SAE

- flat, 1/4 x 47/64 x 1/16 inch

1шт.

24

425-104

NUT,1/4"-20, Cl 5

- hex, 1/4 inch NC

1шт.

28

60-4273T1

BALL KNOB

KNOB - lever

1шт.

29

90-4332T1

OIL SEAL

RING - retainer, knob

1шт.

30

60-4758T1

SUPPORT

BRACKET - mounting, rod

1шт.

31

60-4757T1

SUPPORT

BRACKET - mounting, gear and rod

1шт.

32

19-195

WASHER,#10

- flat, 3/16 x 9/16 x 3/64 inch

7шт.

33

19-5563

LOCK NUT

- hex, lock, No. 10 NC

9шт.

34

19-6129

NYLON BEARING

BEARING - flanged, split

4шт.

35

19-5924

SPRING WASHER

- spring, conical, 1/4 inch

1шт.

36

60-3955T1

STEM

ROD - threaded, depth actuating

1шт.

37

60-3950T1

INDICATOR

- depth

1шт.

38

60-3953T1

LARGE PLATE

TAB - lever retainer

1шт.

42

60-3954T1

LARGE PLATE

WEARSTRIP - lever

1шт.

43

60-4276T1

SUPPORT

BRACKET - stiffener, console

1шт.

44

60-4275T1

GEAR, BEVEL

GEAR SET - depth actuating

1шт.

45

19-124

COTTER PIN,3/32" x 1"

Pin, Split (Cotter), 3/32" x 1"

2шт.

46

60-3949T1

ROD

- gear actuating

1шт.

47

60-3957T1

BUTTON

KNOB - depth actuating

1шт.

48

60-4919T1

WASHER

- foam

1шт.

49

60-3958T1

BUTTON

Knob, Lower Rate

1шт.

53

231-1445

NUT,5/16"-18, GB

NUT - hex, lock, 5/16 inch NC

6шт.

54

60-6111T1

INDICATOR

LIGHT ASSEMBLY - indicator

1шт.

55

60-6154T1

BULB

- light, No. 1866

1шт.

56

60-6065T1

ANGLE BAR

ANGLE - retaining, foam

2шт.

57

60-6066T1

FOAM

- sealing

2шт.

58

1-7128

IGNITION SWITCH

SWITCH - electronic memory actuating

1шт.

61

22-823

MOUNT

MOUNT - strap, adhesive backed

1шт.

62

22-824

CABLE TIE,3/16" x 7 1/4"

STRAP - nylon

1шт.

63

20-2505T2

HARNESS

- control, three point hitch

1шт.

64

20-2399T2

HARNESS

- three point hitch

1шт.

Выбрано товаров: 49