Запчасти Case IH 9170 (9-082) - OVERHEAD CONSOLE, CAB (09) - CHASSIS/ATTACHMENTS

Схема запчастей Case IH 9170 - (9-082) - OVERHEAD CONSOLE, CAB (09) - CHASSIS/ATTACHMENTS
7
13
30
8
2
20
21
14
7
18
25
5
16
24
7
3
19
17
3
29
4
28
26
23
15
1
6
10
5
27
11
9
12
22
31
FIT
1:1
100%

Артикул

Название

Примечание

Количество

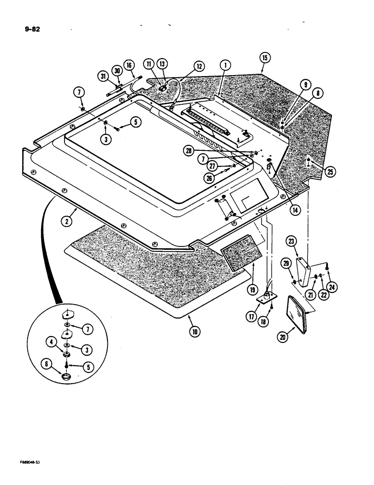
1

REF

INSTRUCTION

DOOR - overhead, See Figure 9-65

1шт.

2

REF

INSTRUCTION

HEADLINER - cab, See Figure 9-86

1шт.

3

9421089

WASHER

- flat, 3/16 x 1/2 x 1/16 inch

15шт.

4

1-8674

CAP WASHER

- trim cap

8шт.

5

19-259

SELF-TAP SCREW,Hex, #10 x 3/4"

SCREW - tapping, hex head, No. 10 NC x 3/4 inch

12шт.

6

60-5920T1

CAP

- trim, gray

8шт.

7

19-5668

WASHER

- flat, 1/4 x 3/4 x 3/16 inch

15шт.

8

19-106

WASHER,5/16", SAE

- flat, 5/16 x 7/8 x 1/16 inch

3шт.

9

19-77

NUT,5/16"-18, G5

- hex, 5/16 inch NC

3шт.

10

60-5921T1

FOAM

PAD - insulation, gray

1шт.

11

2-3604T1

LINK

- connecting

2шт.

12

60-4137T1

ROPE

WIRE ROPE - plastic coated

2шт.

13

70-5269T1

FERRULE

- wire rope

4шт.

14

19-5524

NUT

- clip, J-type 1/4-20

2шт.

15

60-5924T1

NOISE PROTECTION

PAD - insulation, gray

1шт.

16

REF

INSTRUCTION

HARNESS - overhead wiring, See Figure 4-9

1шт.

17

20-1971T91

LIGHT

ASSEMBLY - console

1шт.

18

24379R1

SELF-TAP SCREW,Cross Pan Hd, #8 x 1/2"

SCREW - tapping, round head, No. 8 x 1/2 inch

2шт.

19

60-5922T1

FOAM

PAD - speaker cover, gray

2шт.

20

A177462

MIRROR

- rear view, Includes: Ref. 21 & 22

1шт.

21

19-467

LOCK WASHER,Ext Tooth, 1/4"

WASHER - lock, 1/4 inch

1шт.

22

19-5565

LOCK NUT,1/4"-28, GB

NUT, LOCK, 1/4"-28, GB

1шт.

23

64-86T3

SUPPORT

BRACKET - rear view mirror

1шт.

24

9421295

SCREW,Hex Washer, #10 - 24 x 3/4"

- machine, flanged head, No. 10 NC x 3/4 inch

2шт.

25

19-5563

LOCK NUT

- lock, No. 10 NC

2шт.

26

19-1

BOLT,Hex, 1/4" - 20 x 3/4", Gr 5

- hex, 1/4 NC x 3/4 inch

3шт.

27

19-105

WASHER,1/4", SAE

- flat, 1/4 x 47/64 x 1/16 inch

3шт.

28

19-6200

CLIP

NUT - clip, J-type, 1/4-20

3шт.

29

193-95

LOCK WASHER,Ext Tooth, 5/16"

WASHER, LOCK, Ext Tooth, 5/16"

1шт.

30

22-823

MOUNT

MOUNT - adhesive backed

1шт.

31

22-824

CABLE TIE,3/16" x 7 1/4"

STRAP - nylon tie

1шт.

Выбрано товаров: 31