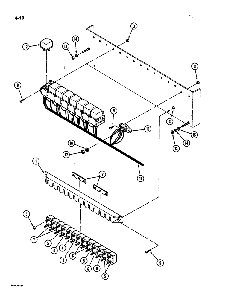
Запчасти Case IH 9170 (4-10) - OVERHEAD CIRCUIT BREAKERS AND SOLENOIDS (04) - ELECTRICAL SYSTEMS

Схема запчастей Case IH 9170 - (4-10) - OVERHEAD CIRCUIT BREAKERS AND SOLENOIDS (04) - ELECTRICAL SYSTEMS
9
17
14
3
3
5
8
11
13
12
13
16
7
9
6
9
5
4
15
6
14
6
10
1
3
8
2
5
3
FIT
1:1
100%

Артикул

Название

Примечание

Количество

20-2485T91

BREAKER

ASSEMBLY - circuit, Includes: Ref. 1 - 9

1шт.

1

22-674

BRACKET

- circuit breaker

1шт.

2

22-676

BREAKER

CONNECTOR - circuit breaker

2шт.

3

19-481

SERRATED NUT

- keps, No. 10 NF

1шт.

4

22-809

BREAKER

CIRCUIT BREAKER - 5 ampere

1шт.

5

22-670

BREAKER

CIRCUIT BREAKER - 10 ampere

4шт.

6

22-671

BREAKER

CIRCUIT BREAKER - 15 ampere

4шт.

7

22-673

BREAKER

CIRCUIT BREAKER - 30 ampere

2шт.

8

22-672

BREAKER

CIRCUIT BREAKER - 20 ampere

2шт.

9

182-520

SCREW,Sl Pan Hd, #10 - 24 x 1 1/2"

- machine, pan head, No. 10 NF x 1/2 inch

1шт.

10

20-1451T1

BLOCK

JUNCTION BLOCK

1шт.

11

REF

INSTRUCTION

HARNESS - main cab, See Figures 4-02 and 4-04

1шт.

12

1-7877

RELAY

- electrical

8шт.

13

425-104

NUT,1/4"-20, Cl 5

- hex, 1/4 inch NC

3шт.

14

19-115

LOCK WASHER,1/4"

1/4"

2шт.

15

19-223

WASHER,1/4"

- flat, 1/4 x 3/4 x 1/16 inch

2шт.

16

19-5577

LOCK WASHER

- lock, brass, 3/8 inch

1шт.

17

115772

NUT

- hex, brass, 3/8 inch NC

1шт.

Выбрано товаров: 0