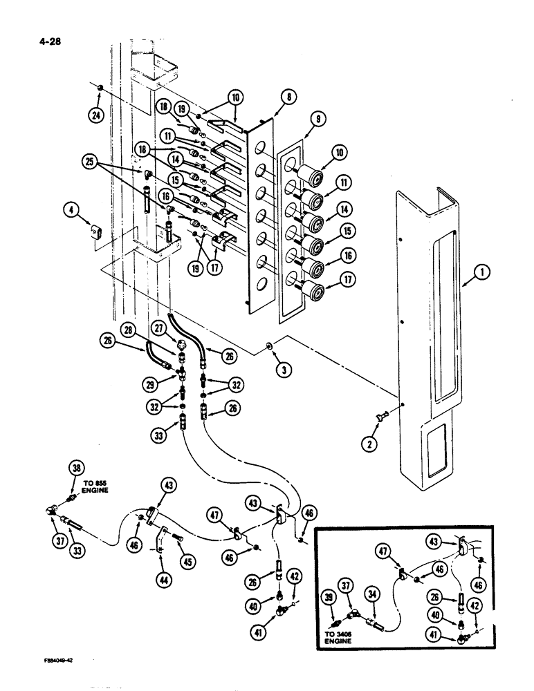
Запчасти Case IH 9170 (4-28) - GAUGE PANEL, CAB ROPS POST (04) - ELECTRICAL SYSTEMS

Схема запчастей Case IH 9170 - (4-28) - GAUGE PANEL, CAB ROPS POST (04) - ELECTRICAL SYSTEMS
11
43
44
1
10
32
8
15
10
40
41
25
14
18
9
19
26
33
26
18
45
11
15
37
27
24
42
37
28
29
46
26
2
42
46
40
4
47
16
46
32
14
38
41
33
3
43
17
16
46
47
43
37
19
26
46
17
34
26
FIT
1:1
100%

Артикул

Название

Примечание

Количество

1

60-5940T1

COVER

- panel, ROPS post

1шт.

2

19-6136

STUD

- quarter turn, panel

5шт.

3

19-5668

WASHER

- flat, 1/4 x 3/4 x 3/16 inch

5шт.

4

A36042

CLIP

RECEPTACLE - quarter turn

5шт.

60-5960T92

PANEL ASSY.

PANEL ASSEMBLY - gauge (Order components), Includes: Ref. 8 - 19

1шт.

8

60-5756T1

PANEL

- gauge

1шт.

9

60-5939T1

DECAL

- gauge panel

1шт.

10

20-2018T1

HOURMETER

GAUGE - hourmeter

1шт.

11

20-2466T1

VOLTMETER

GAUGE - voltmeter

1шт.

14

20-2464T1

FUEL GAUGE

GAUGE - fuel level

1шт.

15

20-2465T1

GAUGE

- water temperature, engine

1шт.

16

60-6145T1

OIL PRESSURE GAUGE

GAUGE - oil pressure, engine

1шт.

17

60-6144T1

GAUGE

- oil pressure, transmission

1шт.

18

20-2442T1

HARNESS

- instrument panel lighting

1шт.

19

23731R1

BULB,C2F, #1893, 14V

- lamp, No. 1893

6шт.

24

9411893

LOCK NUT,#10-32, GB

NUT - hex lock, No. 10 NF

4шт.

25

31-2740

ELBOW

- 90 degree, brass, 1/8 NPT x 7/16 inch thread

2шт.

26

31-2784

HOSE

ASSEMBLY - gauge, 42 inch

3шт.

27

L57937

SWITCH

- oil pressure, engine

1шт.

28

31-2741

HYD CONNECTOR,37 Degree, Sw, 7/16"-20 x 1/8"-27 NPTF

CONNECTOR - straight, 1/8 NPT x 7/16 inch thread

1шт.

29

31-2158

TEE,37 Degree, 7/16"-20, x 7/16"-20, Fem Sw Run

- adjustable, 7/16 x 7/16 x 7/16 inch thread

1шт.

32

31-1391

FITTING,Blkhd, 7/16"-20, 37 Degree x 7/16"-20, 37 Degree

CONNECTOR - straight, bulkhead, 7/16 x 7/16 inch thread

2шт.

33

31-2155

HOSE

ASSEMBLY - adapter to 855 engine

1шт.

34

31-2153

HOSE

ASSEMBLY - adapter to 3406 engine

1шт.

37

9410278

ELBOW,90 Degree, 7/16"-20, 37 Degree x 7/16"-20, 37 Degree Fem Sw

- 90 degree, 7/16 x 7/16 inch thread

1шт.

38

31-1028

HYD CONNECTOR,7/16"-20, 37 Degree x 1/8"-27, NPTF

CONNECTOR - straight, 1/8 NPT x 7/16 inch thread

1шт.

39

19-1101

HYD CONNECTOR,7/16" - 20, 37 Degree x 3/8" - 18, NPTF

CONNECTOR - straight, 3/8 NPT x 7/16 inch thread

1шт.

40

31-2543

ADAPTER

CONNECTOR - straight, orificed

1шт.

41

18-1538

ELBOW,90 Degree, 7/16"-20, 37 Degree x 7/16"-20, O-Ring

- 90 degree, 7/16 x 7/16 inch thread, Includes: Ref. 42

1шт.

42

31-1019

O-RING,4-1, 90 Duro, .351" ID x .072" Thk

1шт.

43

31-1070

CLAMP,5/8", 3/8" Bolt, Double

- hose

2шт.

44

90-5994T1

SUPPORT

BRACKET - support, clamp, (855 engine only)

1шт.

45

19-17

BOLT,Hex, 3/8" - 16 x 1", Gr 5, Full Thd

- hex, 3/8 NC x 1 inch

1шт.

46

425-104

NUT,1/4"-20, Cl 5

- hex, 3/8 inch NC

3шт.

47

31-1776

MOUNTING CLIP

CLAMP - hose

2шт.

Выбрано товаров: 0