Запчасти Case IH 9170 (01-33) - THROTTLE CONTROL ASSEMBLY (10) - CAB

Схема запчастей Case IH 9170 - (01-33) - THROTTLE CONTROL ASSEMBLY (10) - CAB
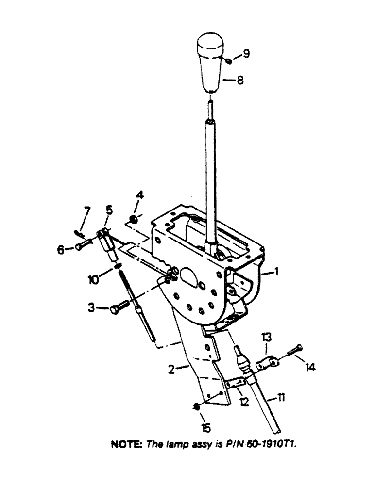
1
9
5
13
3
4
6
10
14
8
15
2
12
11
7
FIT
1:1
100%

Артикул

Название

Примечание

Количество

60-2035T94

CONTROL

THROTTLE CONTROL ASSY, Includes: Ref. 1 - 7

1шт.

1

60-1385T93

CONTROL

THROTTLE CONTROL

1шт.

2

60-1562T3

LARGE PLATE

PLATE

1шт.

3

9419000

BOLT,Hex, 1/4" - 20 x 1/2", Gr 5, Full Thd

CAPSCREW, 1/4 UNC x 1/2 G-5

2шт.

4

19-6082

JAM NUT

LOCK/JAM NUT, 1/4 UNC G-A

2шт.

5

19-873

CLEVIS

1шт.

6

19-874

CLEVIS PIN,3/16" x .580"

3/16 x 1/2

1шт.

7

19-5380

PIN

HAIR PIN, 5/64

1шт.

60-2486T91

KNOB

KN0B ASSY, Includes: Ref. 8 and 9

1шт.

8

60-2050T2

KNOB

1шт.

9

19-5798

SET SCREW

#8 UNC x 5/16

1шт.

10

19-308

NUT,#10 - 32

#10 UNF G-B

1шт.

11

60-2841T1

CABLE

THROTTLE CABLE (Cat 3406 engine)

1шт.

60-2840T1

CABLE

THROTTLE CABLE (Cummins 855 engine)

1шт.

12

60-2033T2

SHIM

1шт.

13

31-1838

CLAMP

1шт.

14

153424

SCREW,Cross Fil Hd, #10 - 32 x 0.50", Gr 2

MACHINE SCREW, #10 UNF x 1/2

2шт.

15

9411893

LOCK NUT,#10-32, GB

#10 UNF G-A

2шт.

60-5759T1

CABLE

adjustment nuts both ends

1шт.

Выбрано товаров: 19