Запчасти Case IH 9170 (02-10) - INSTRUMENT PANEL AND MOUNTING (06) - ELECTRICAL

Схема запчастей Case IH 9170 - (02-10) - INSTRUMENT PANEL AND MOUNTING (06) - ELECTRICAL
6
4
14
3
15
12
1
17
18
10
20
5
7
16
7
2
8
12
6
10a
9
6
9
5
11
19
13
11
12
8
15
4
5
FIT
1:1
100%

Артикул

Название

Примечание

Количество

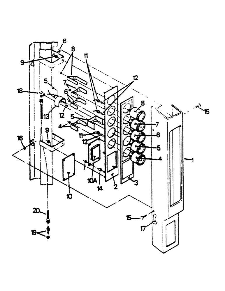
1

60-1128T3

COVER

1шт.

60-5751T91

PANEL

ASSY (w/o 3-pt hitch), Includes: Ref. 2 - 13

1шт.

60-5750T91

PANEL

ASSY (With 3-pt hitch), Includes: Ref. 2 - 14

1шт.

2

60-2098T3

PANEL

1шт.

3

60-1109T1

DECAL

1шт.

4

20-1306T1

GAUGE

ENGINE WATER TEMP GAUGE

1шт.

5

20-2422T1

GAUGE

ENGINE OIL PRESS. GAUGE

1шт.

6

1-8609

GAUGE

FUEL GAUGE

1шт.

7

22-743

GAUGE

VOLTMETER

1шт.

8

20-2018T1

HOURMETER

1шт.

9

9411893

LOCK NUT,#10-32, GB

#10 UNF G-A

8шт.

10

60-2131T1

LARGE PLATE

DISPLAY MODULE (w/o 3-pt hitch)

1шт.

10a

20-1843T1

BOARD, PRINTED CIRCU

DISPLAY MODULE (With 3-pt hitch)

1шт.

11

20-2432T1

HARNESS

INSTRUMENT PANEL WIRE HARNESS

1шт.

12

22-717

LAMP

BULB (#1893)

4шт.

13

20-2423T1

LIGHT ASSY.

LIGHT ASSY

1шт.

14

19-6069

SPACER

(With 3-pt hitch)

4шт.

15

19-5835

CLIP

4шт.

16

19-5668

WASHER

1/4 x 3/4 x 3/16 thk

11шт.

17

60-3742T1

FOAM

1шт.

18

31-2237

ELBOW,90 Degree, 7/16"-20, 37 Degree x 1/8"-27, Fem NPTF

1/8 NPT female x 7/16-20 JIC 37 degree male

1шт.

19

31-1391

FITTING,Blkhd, 7/16"-20, 37 Degree x 7/16"-20, 37 Degree

BULKHEAD FITTING, 7/16-20 JIC 37 degree male x 7/16-20 JIC 37 degree male

1шт.

20

31-2714

HOSE ASSY.

HOSE

1шт.

21

31-2543

ADAPTER

SNUBBER

1шт.

60-6144T1

GAUGE

light, transmission oil pressure, new plastic guage see SB 041-88

1шт.

Выбрано товаров: 25