Запчасти Case IH 9170 (4-44) - WINDOW WASHERS, IF EQUIPPED (04) - ELECTRICAL SYSTEMS

Схема запчастей Case IH 9170 - (4-44) - WINDOW WASHERS, IF EQUIPPED (04) - ELECTRICAL SYSTEMS
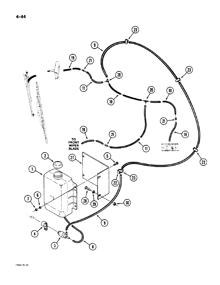
7
23
9
23
2
1
3
23
22
10
8
29
9
20
19
11
11
27
10
28
4
5
6
21
23
19
20
30
21
21
19
FIT
1:1
100%

Артикул

Название

Примечание

Количество

35-1719T91

KIT

- wiper, side and rear with window washer , Includes: Ref. 1 - 30

1шт.

Wiper Kit also includes the parts shown on Figures 4-44 - 4-46.

1шт.

1

60-4236T1

WASHER

TANK - washer fluid

1шт.

2

60-4241T1

FILLER CAP

CAP - tank

1шт.

3

60-3183T1

PUMP, WATER

PUMP - washer fluid

1шт.

4

31-2361

MOUNTING CLIP

CLAMP - pump mounting

1шт.

5

113-3

BOLT,Hex, 1/4" - 20 x 3/4", Gr 5

5шт.

6

19-105

WASHER,1/4", SAE

- flat, 1/4 inch

5шт.

7

425-104

NUT,1/4"-20, Cl 5

- hex, 1/4 inch NC

5шт.

8

NSS

NOT SOLD SEPARAT

TUBING - washer, 10 inch (Order 4-1056T1 and, Serial Range: cut-length)

1шт.

9

NSS

NOT SOLD SEPARAT

TUBING - washer, 130 inch (Order 4-1056T1 and, Serial Range: cut-length)

1шт.

10

NSS

NOT SOLD SEPARAT

TUBING - washer, 15 inch, (Order 4-1056T1 and, Serial Range: cut-length)

2шт.

11

NSS

NOT SOLD SEPARAT

TUBING - washer, 2 inch (Order 4-1056T1 and, Serial Range: cut-length)

2шт.

19

NSS

NOT SOLD SEPARAT

TUBING - washer, 10 inch (Order 31-2607T1 and, Serial Range: cut-length)

3шт.

20

31-2363

TEE

- nylon, 3/16 inch

2шт.

21

31-2364

FITTING

CONNECTOR - nylon, 3/16 x 7/64 inch

3шт.

22

22-823

MOUNT

MOUNT - adhesive backed

1шт.

23

22-824

CABLE TIE,3/16" x 7 1/4"

STRAP - nylon

1шт.

27

60-5817T1

SUPPORT

BRACKET - mounting, washer tank

1шт.

28

19-16

BOLT,Hex, 3/8" - 16 x 3/4", Gr 5

- hex, 3/8 NC x 3/4 inch

2шт.

29

25709R1

WASHER

- flat, 13/32 x 13/16 x 3/32 inch, hardened

2шт.

30

129-103

NUT,Hex, 3/8" - 16, Gr 5

NUT, 3/8"-16, G5

2шт.

Выбрано товаров: 22