Запчасти Case IH 9170 (4-60) - GROUND SPEED SENSOR (04) - ELECTRICAL SYSTEMS

Схема запчастей Case IH 9170 - (4-60) - GROUND SPEED SENSOR (04) - ELECTRICAL SYSTEMS
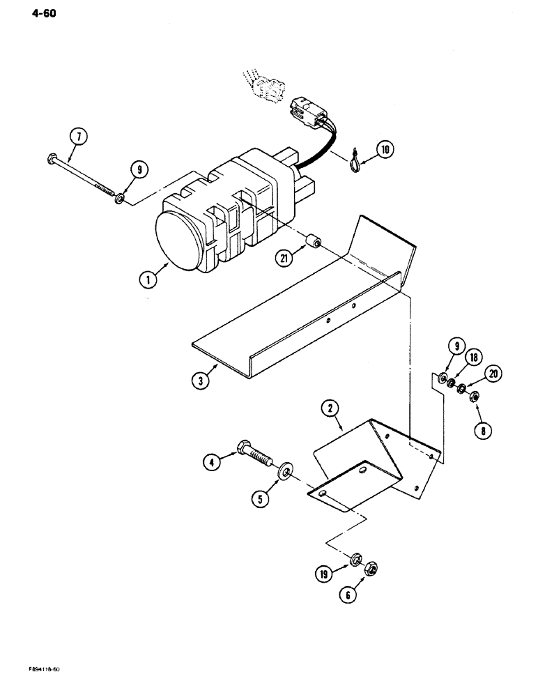
5
19
6
10
21
3
20
4
7
8
1
2
9
18
9
FIT
1:1
100%

Артикул

Название

Примечание

Количество

35-1744T91

SPEED CHANGE LEVER

KIT - true ground speed, Includes: Ref. 1 - 21

1шт.

1

1983294C1

SPEED LIMITER

SENSOR - speed, ground

1шт.

1

87733890R

REMAN-SENSOR

9170, 9180, Both CASE IH STEIGER 4WD TRACTOR (S/N JCB0003600 & AFTER), SENSOR - speed, ground (7/89-7/90), Reman for New PN 1983294C1

1шт.

1

87733890C

CORE-SENSOR

Return Number

1шт.

2

60-6130T1

BRACKET

- mounting, sensor

1шт.

3

60-6131T1

GUARD ASSY.

GUARD - sensor

1шт.

4

19-269

BOLT,Hex, 1/2" - 13 x 1 3/4", Gr 5

- hex, 1/2 NC x 1-3/4 inch

2шт.

5

19-463

WASHER,1/2", SAE

- flat, 1/2 x 1-1/4 x 3/32 inch

4шт.

6

19-81

NUT,1/2"-13, G5

- hex, 1/2 inch NC

2шт.

7

113-49

BOLT,Hex, 1/4" - 20 x 4", Gr 5

- hex, 1/4 NC x 4 inch

4шт.

8

425-104

NUT,1/4"-20, Cl 5

- hex, 1/4 inch NC

4шт.

9

19-105

WASHER,1/4", SAE

- flat, 1/4 inch

8шт.

10

22-824

CABLE TIE,3/16" x 7 1/4"

STRAP - tie, 7 inch

1шт.

18

19-115

LOCK WASHER,1/4"

1/4"

4шт.

19

80679

LOCK WASHER,1/20.507 CST ZND

WASHER, LOCK, 1/2"

2шт.

20

19-890

LOCK WASHER,Int Tooth, 1/4"

WASHER - lock, 1/4 inch

1шт.

21

50-2955T1

SPACER

- bracket, mounting

4шт.

Выбрано товаров: 17