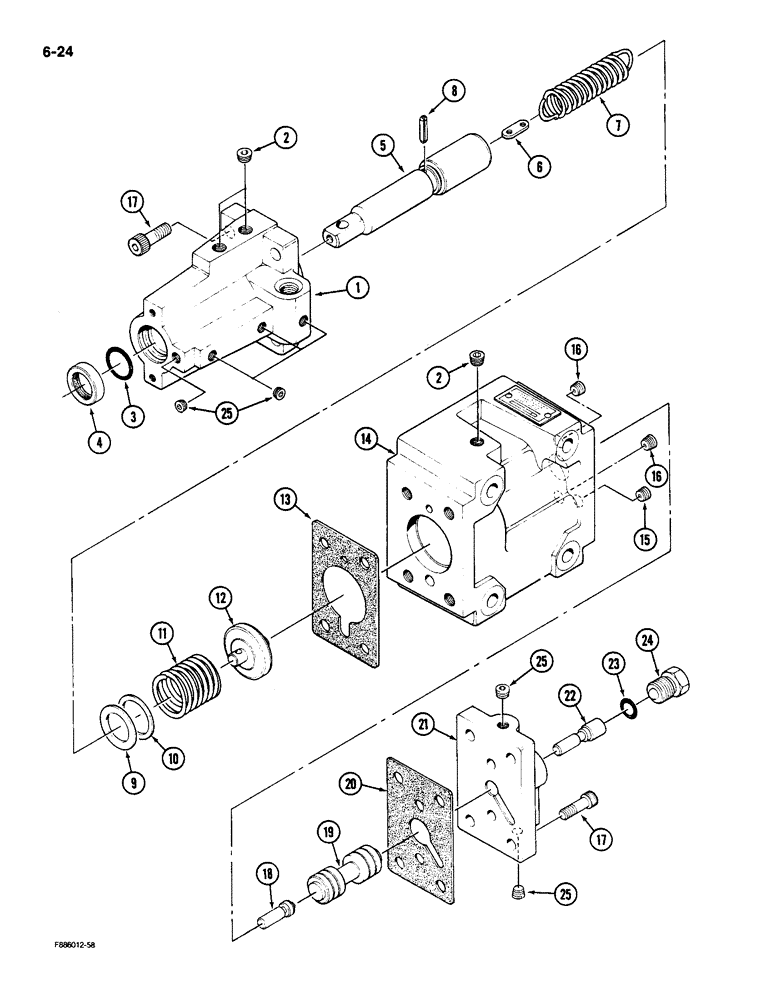
Запчасти Case IH 9180 (6-24) - TRANSMISSION CLUTCH CONTROL VALVE (06) - POWER TRAIN

Схема запчастей Case IH 9180 - (6-24) - TRANSMISSION CLUTCH CONTROL VALVE (06) - POWER TRAIN
16
1
14
19
13
4
17
23
9
18
2
25
11
6
15
20
8
21
25
22
24
7
12
2
25
17
10
3
16
5
FIT
1:1
100%

Артикул

Название

Примечание

Количество

90-6563T91

TRANSMISSION

ASSEMBLY (Continued from previous Fig.), Includes: Ref. 1 - 25

1шт.

S6000S00F

VALVE

ASSEMBLY - clutch control, Includes: Ref. 1 - 25

1шт.

1

S6090S00F

HOUSING

COVER - control stem

1шт.

2

STX99700F

PLUG

3шт.

3

S6120S00F

O-RING

control stem

1шт.

Part of Transmission Gasket Kit P/N S1670S00F

1шт.

4

S6110S00F

OIL SEAL

control stem

1шт.

Part of Transmission Gasket Kit P/N S1670S00F

1шт.

5

S6100S00F

HOUSING

STEM - control

1шт.

6

S6080S00F

LINK, CONNECTING

LINK - connecting

1шт.

7

S6210S00F

SPRING

- tension

1шт.

8

S6130S00F

PIN, ROLL

PIN - roll

1шт.

9

S6200S00F

SPACER

- 31 mm x 1.2 mm thick

1шт.

10

S6140S00F

SHIM,1.0mm Thk

(30 mm) 1.0mm Thk

1шт.

11

S6150S00F

SPRING

- compression

1шт.

12

S6060S00F

SPRING SEAT

SEAT - spring

1шт.

13

S6070S00F

GASKET

control stem cover

1шт.

Part of Transmission Gasket Kit P/N S1670S00F

1шт.

14

S6050S00F

HOUSING

BODY - modulator

1шт.

15

S6240S00F

ORIFICE

PLUG - orifice

1шт.

16

S6230S00F

ORIFICE

PLUG - orifice

2шт.

17

S6260S00F

SCREW

BOLT - socket head

8шт.

18

S6160S00F

PIN

1шт.

19

S6040S00F

SPOOL

- modulator

1шт.

20

S6030S00F

GASKET

valve cover

1шт.

Part of Transmission Gasket Kit P/N S1670S00F

1шт.

21

S6020S00F

COVER

- valve

1шт.

22

S6010S00F

SPOOL

- reducing

1шт.

23

S6180S00F

O-RING

plug

1шт.

Part of Transmission Gasket Kit P/N S1670S00F

1шт.

24

S6170S00F

PLUG

1шт.

25

S6220S00F

PLUG

6шт.

S1670S00F

GASKET

KIT Transmission, Includes: Refs. 3, 4, 13, 20 and 23

1шт.

Выбрано товаров: 33