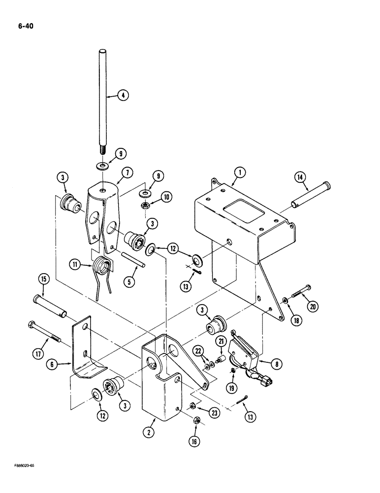
Запчасти Case IH 9180 (6-40) - TRANSMISSION SHIFT CONTROLS MODE CONTROL, P.I.N. JCB0002116 AND AFTER (06) - POWER TRAIN

Схема запчастей Case IH 9180 - (6-40) - TRANSMISSION SHIFT CONTROLS MODE CONTROL, P.I.N. JCB0002116 AND AFTER (06) - POWER TRAIN
23
9
12
13
20
15
18
12
5
1
16
19
3
21
3
8
6
3
9
11
3
10
22
17
7
2
13
4
14
FIT
1:1
100%

Артикул

Название

Примечание

Количество

60-6060T91

CONTROL

- mode, forward or reverse, Includes: Ref. 1 - 20

1шт.

1

60-6057T1

BRACKET

CHANNEL - control mounting

1шт.

2

60-5887T1

JOINT

TRUNNION - shift control

1шт.

3

60-6141T1

BUSHING

- flanged pivot, nylon

4шт.

4

60-5886T1

STEM

ROD - shift control

1шт.

5

60-5892T1

PIN

- spring tension

1шт.

6

60-6056T1

LARGE PLATE

STRIKER - switch actuating

1шт.

7

60-5888T1

LEVER

YOKE - pivot, shift control

1шт.

8

60-6059T91

IGNITION SWITCH

SWITCH - neutral

1шт.

9

25709R1

WASHER

- flat, 3/8 x 1 x 1/16 inch

2шт.

10

19-295

NUT,Jam, 3/8" - 16, Gr 5

- jam, 3/8 inch NC

1шт.

11

70-4486T2

SPRING

- neutral return

1шт.

12

19-6034

SPRING WASHER

- spring, 1/2 x 1 x 1/64 inch

3шт.

13

113-368

BOLT,Hex, 3/8" - 16 x 4", Gr 5, Full Thd

PIN - cotter, 1/8 x 1 inch

2шт.

14

19-6158

CLEVIS PIN,1/2" x 2 3/4"

PIN - clevis, 1/2 x 2-3/4 inch

1шт.

15

19-6165

PIN

- clevis, 1/2 x 2-1/4 inch

1шт.

16

113-3081

NUT - lock, 1/4 inch NC

1шт.

17

113-12

BOLT,Hex, 1/4" - 20 x 2-1/2", Gr 5

- hex, 1/4 NC x 2-1/2 inch

1шт.

18

19-708

WASHER,#6

- flat, No. 6

2шт.

19

113-3013

NUT - No. 6 NC

2шт.

20

182-530

SCREW,Sl Pan Hd, #6 - 32 x 1 1/4"

- machine, pan head, No. 6 NC x 1-1/4 inch

2шт.

21

20-1316T1

ACTUATOR

- mode

1шт.

22

446143

WASHER

- flat, No. 8

2шт.

23

113-3015

NUT - keps, No. 8 NC

1шт.

Выбрано товаров: 24