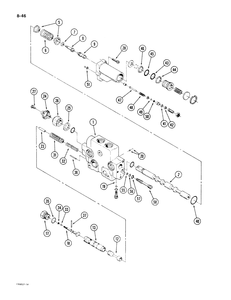
Запчасти Case IH 9180 (8-46) - HYDRAULIC REMOTE VALVE SECTION, FIRST, SECOND, THIRD AND FOURTH WITH FLOAT (08) - HYDRAULICS

Схема запчастей Case IH 9180 - (8-46) - HYDRAULIC REMOTE VALVE SECTION, FIRST, SECOND, THIRD AND FOURTH WITH FLOAT (08) - HYDRAULICS
56
49
55
35
6
37
1
23
19
57
33
46
32
5
24
27
18
44
34
41
42
2
31
7
12
17
13
9
8
25
58
40
45
20
36
50
51
47
48
28
26
43
FIT
1:1
100%

Артикул

Название

Примечание

Количество

50-2302T91

ASSEMBLY

VALVE ASSEMBLY - remote, with float, Includes: Ref. 1 - 58

1шт.

1

NSS

NOT SOLD SEPARAT

BODY - valve

1шт.

2

NSS

NOT SOLD SEPARAT

SPOOL - valve

1шт.

5

50-1774T1

RETAINER

- spring

2шт.

6

50-1773T1

SPRING

- centering, spool

1шт.

7

50-1772T1

SPACER

- detent

1шт.

8

50-1863T1

COUPLING, BREAK AWAY

COUPLING - pivot, detent

1шт.

9

NSS

NOT SOLD SEPARAT

SHAFT - detent

1шт.

12

50-2374T1

SPOOL

- flow control

1шт.

13

50-2375T1

TUBE

- spool, flow control

1шт.

17

50-2376T1

PLUG

- adjusting, fiow control

1шт.

18

50-2377T1

SHAFT

- adjusting, flow control

1шт.

19

104916

BALL BEARING,0.1875 mm OD

- steel

1шт.

20

50-2566T1

PLUG

- hole, expansion

1шт.

23

50-2385T1

GUIDE PIN

PIN - guide

1шт.

24

50-2494T1

RETAINER

- dust guard

1шт.

25

50-2493T1

FILTER

- dust

1шт.

26

A47189

COVER

BOOT - dust

1шт.

27

19-717

BOLT,Hex, 1/4" - 20 x 5/8", Gr 5, Full Thd

BOOT - hex, 1/4 NC x 5/8 inch

2шт.

28

19-960

HEX SOC SCREW,1/4"-20 x 1"

BOLT - socket head, 1/4 NC x 1 inch, Grade 8

3шт.

50-2386T1

SEAL KIT

SEAL KIT - flow control, Includes: Ref. 31 - 37

1шт.

31

NSS

NOT SOLD SEPARAT

SPRING - flow control, outer

1шт.

32

NSS

NOT SOLD SEPARAT

SPRING - fiow control, inner

1шт.

33

NSS

NOT SOLD SEPARAT

O-RING - seal, shaft

1шт.

34

NSS

NOT SOLD SEPARAT

RING - backup

1шт.

35

NSS

NOT SOLD SEPARAT

O-RING -plug

1шт.

36

NSS

NOT SOLD SEPARAT

PIN - spring, control stop

1шт.

37

NSS

NOT SOLD SEPARAT

PIN - spring, control stop

1шт.

50-2387T1

SEAL KIT

SEAL KIT - detent, Includes: Ref. 40 - 58

1шт.

40

NSS

NOT SOLD SEPARAT

O-RING - seal, detent housing

1шт.

41

NSS

NOT SOLD SEPARAT

O-RING - relief

1шт.

42

NSS

NOT SOLD SEPARAT

RING - backup

1шт.

43

NSS

NOT SOLD SEPARAT

O-RING - seal, kickout piston

1шт.

44

NSS

NOT SOLD SEPARAT

RING - backup

1шт.

45

NSS

NOT SOLD SEPARAT

O-RING - seal, kickout piston

1шт.

46

NSS

NOT SOLD SEPARAT

RING - backup

1шт.

47

NSS

NOT SOLD SEPARAT

POPPET - relief

1шт.

48

NSS

NOT SOLD SEPARAT

SPRING - poppet

1шт.

49

NSS

NOT SOLD SEPARAT

O-RING - seal, poppet

1шт.

50

NSS

NOT SOLD SEPARAT

RING - backup

1шт.

51

NSS

NOT SOLD SEPARAT

O-RING - housing

2шт.

50-1669T91

HOUSING

SHUTTLE ASSEMBLY - primary

1шт.

50-1655T1

SEAL KIT

SEAL KIT - primary shuttle

1шт.

55

NSS

NOT SOLD SEPARAT

O-RING - seal

1шт.

56

NSS

NOT SOLD SEPARAT

O-RING - seal

1шт.

57

NSS

NOT SOLD SEPARAT

O-RING - seal

1шт.

58

NSS

NOT SOLD SEPARAT

SHUTTLE ASSEMBLY - primary

1шт.

Выбрано товаров: 47