Запчасти Case IH 9180 (9-048) - SEAT MECHANICAL SUSPENSION ROPS (09) - CHASSIS/ATTACHMENTS

Схема запчастей Case IH 9180 - (9-048) - SEAT MECHANICAL SUSPENSION ROPS (09) - CHASSIS/ATTACHMENTS
17
6
6
5
15
18
3
2
7
8
4
9
4
1
16
19
11
7
2
10
2
14
FIT
1:1
100%

Артикул

Название

Примечание

Количество

60-5802T91

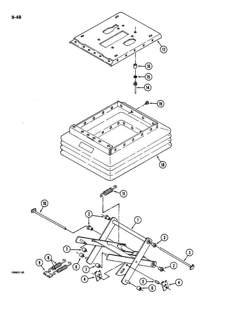
SEAT ASSY.

SEAT ASSEMBLY - mechanical suspension, vinyl upholstery (Continued from previous Fig.)

1шт.

60-5740T91

ARM

ASSEMBLY - scissors suspension, Includes: Ref. 1 - 11

1шт.

1

NSS

NOT SOLD SEPARAT

ARM - scissors suspension

1шт.

2

60-5623T1

FLANGED BEARING

- flanged

4шт.

3

60-5625T1

STEM

ROD - pivot

1шт.

4

60-1599T1

BRACKET

- release

2шт.

5

60-1606T1

PIN

- square

1шт.

6

60-4885T1

ROLLER

- suspension, outer

2шт.

7

60-1609T1

ROLLER

- suspension, inner

2шт.

8

60-1603T1

SPRING

- shock absorber

2шт.

9

60-1602T1

LARGE PLATE

PLATE - spring retainer

1шт.

10

60-5624T1

PIVOT

ROD - pivot

1шт.

11

60-1685T1

SPRING

- shock absorber

1шт.

14

60-1671T1

RIVET

- pop

2шт.

15

40-1161

WASHER

- flat, M4

2шт.

16

60-1670T1

BUMPER

- suspension

2шт.

17

60-3245T1

PLATE

- upper suspension

1шт.

18

60-3243T1

BELLOWS

BOOT - suspension cover

1шт.

19

60-1613T1

FASTENER

- snap, boot

36шт.

Выбрано товаров: 19