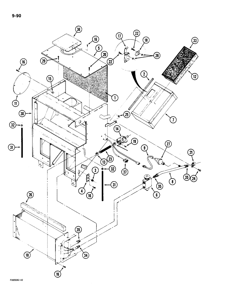
Запчасти Case IH 9180 (9-090) - AIR CONDITIONING AND HEATER MODULE EXTERNAL COMPONENTS CAB (09) - CHASSIS/ATTACHMENTS

Схема запчастей Case IH 9180 - (9-090) - AIR CONDITIONING AND HEATER MODULE EXTERNAL COMPONENTS CAB (09) - CHASSIS/ATTACHMENTS
35
33
7
22
6
15
23
30
32
10
16
17
25
35
19
18
12
24
32
26
5
2
22
8
34
16
35
3
16
9
29
27
16
28
20
21
4
13
36
31
14
1
37
11
31
FIT
1:1
100%

Артикул

Название

Примечание

Количество

60-4780T93

CONTROL

MODULE ASSEMBLY - air conditioner and heater, Includes: Ref. 1 - 37

1шт.

1

60-4499T1

FOAM

PAD - cover insulating

1шт.

2

60-4500T1

FOAM

SEAL - filter box

1шт.

3

60-4666T1

GROMMET

- actuator rod

1шт.

4

60-4768T1

LARGE PLATE

PLATE - actuator rod adjustment

1шт.

5

60-5065T1

COVER

- module

1шт.

6

60-5880T1

VALVE

- thermal expansion

1шт.

7

60-4615T1

BOX

- filter housing

1шт.

8

60-5879T1

TUBE,0.57" ID, 0.625" OD, 9.4, 1.85" Length

- adapter

1шт.

9

20-2493T1

HARNESS

- adapter, switch

1шт.

10

60-4042T1

COIL

CORE - heater and evaporator

1шт.

11

60-3889T1

COVER

- blower motor access

1шт.

12

60-4452T1

FILTER

- air inlet

1шт.

13

25-285T1

HOSE CLAMP,#08, 0.50/0.91 Type F Worm

CLAMP - hose, 1/2 to 7/8 inch

2шт.

14

60-2392T1

DRAIN VALVE

VALVE - water shut off

1шт.

15

19-6157

STEEL SHEET NUT

NUT - clip, U-type, No. 10

14шт.

16

9419320

SELF-TAP SCREW,Hex Wash Hd, #10 x 3/8"

SCREW - tapping, flanged head, No. 10 x 3/8 inch

19шт.

17

60-4640T1

LATCH

- filter box retaining

1шт.

18

60-4641T1

LATCH

KEEPER - latch

1шт.

19

463-1108

SCREW,Hex Hd, #10-24 x 1/2"

- machine, hex head, No. 10 NC x 1/2 inch

3шт.

20

9419322

SELF-TAP SCREW,Hex Wash Hd, #10 x 3/4"

SCREW - tapping, flanged head, No. 10 x 3/4 inch

14шт.

21

31-2488

CLAMP

- tube, 5/8 inch

1шт.

22

19-5422

SCREW,Truss Hd, #8 - 32 x 3/4"

- machine, truss head, No. 8 NC x 3/4 inch

3шт.

23

NSS

NOT SOLD SEPARAT

HOSE - heater, valve to core, 5/8 x 5 inch (Order 97252C1 and, Serial Range: cut-length)

1шт.

24

19-16

BOLT,Hex, 3/8" - 16 x 3/4", Gr 5

- hex, 3/8 NC x 3/4 inch

1шт.

25

129-103

NUT,Hex, 3/8" - 16, Gr 5

NUT, 3/8"-16, G5

1шт.

26

60-4727T1

FOAM

PAD - core sealing

1шт.

27

60-5881T1

PRESSURE SWITCH

SWITCH - pressure

1шт.

28

193-1002

NUT,Keps, #8 - 32, w/ Ext Tooth LW

- lock, keps, No.8 NC

3шт.

29

19-435

SCREW - tapping, flanged head, 1/4 NC x 1/2 inch

4шт.

30

60-4456T3

HOUSING

- module

1шт.

31

31-1208

HOSE,0.38" ID x 12.00"

condensation drain (Order 32-12 and cut to length) 0.38" ID x 12.00"

2шт.

32

32-29

HOSE CLAMP

CLAMP - hose, 7/16 to 3/4 inch

2шт.

33

60-4948T1

SUPPORT

- filter, steel

1шт.

34

31-1808

O-RING

O-RING - hose

1шт.

35

31-1809

O-RING

- hose

3шт.

36

60-5796T1

SCREEN

- filter

1шт.

37

20-2376T1

HARNESS

- motor

1шт.

Выбрано товаров: 38