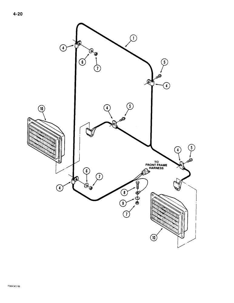
Запчасти Case IH 9180 (4-20) - FRONT HEADLIGHT HARNESS (04) - ELECTRICAL SYSTEMS

Схема запчастей Case IH 9180 - (4-20) - FRONT HEADLIGHT HARNESS (04) - ELECTRICAL SYSTEMS
4
8
1
6
7
7
5
10
4
4
10
6
4
5
9
4
7
5
FIT
1:1
100%

Артикул

Название

Примечание

Количество

1

20-2022T1

HARNESS

ASSEMBLY - headlamp

1шт.

4

155850H1

CLAMP,3/8", 1/4" Bolt

- harness, retaining

5шт.

5

281-13712

SELF-TAP SCREW,Hex Wash Hd, 1/4" x 3/4"

SCREW - tapping, hex, 1/4 NC x 3/4 inch

3шт.

6

19-224

WASHER,3/8", SAE

- flat, 3/8 x 1 x 1/16 inch

2шт.

7

425-104

NUT,1/4"-20, Cl 5

- hex, 3/8 inch NC

3шт.

8

413-620

BOLT,Hex, 3/8" - 16 x 1-1/4", Gr 5

- hex, 3/8 NC x 1-1/4 inch

1шт.

9

19-243

LOCK WASHER,Ext Tooth, 3/8"

WASHER - lock, external tooth, 3/8 inch

1шт.

10

REF

INSTRUCTION

LAMP ASSEMBLY - head (See Fig. 4-42)

2шт.

Выбрано товаров: 8