Запчасти Case IH 9180 (8-46) - HYDRAULIC REMOTE VALVE SECTION, FIRST, SECOND, THIRD AND FORTH WITH FLOAT, (CONT) (08) - HYDRAULICS

Схема запчастей Case IH 9180 - (8-46) - HYDRAULIC REMOTE VALVE SECTION, FIRST, SECOND, THIRD AND FORTH WITH FLOAT, (CONT) (08) - HYDRAULICS
73
104
84
63
68
106
110
88
64
69
99
64
93
76
83
112
74
89
67
77
92
65
65
66
111
62
79
72
107
85
105
70
98
94
75
91
75
71
100
96
90
109
78
108
97
95
62
113
FIT
1:1
100%

Артикул

Название

Примечание

Количество

50-2388T1

SEAL KIT

SEAL KIT - detent, primary and secondary, continued, Includes: Ref. 62 - 79 and 1 - 58 on Fig. 8-44

1шт.

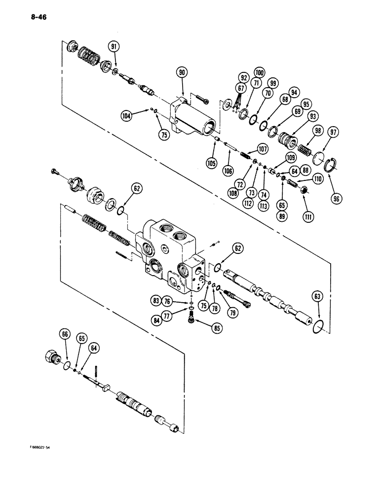
62

NSS

NOT SOLD SEPARAT

O-RING - seal, spool

2шт.

63

NSS

NOT SOLD SEPARAT

O-RING - seal, detent housing

1шт.

64

NSS

NOT SOLD SEPARAT

O-RING - seal

2шт.

65

NSS

NOT SOLD SEPARAT

RING - backup

2шт.

66

NSS

NOT SOLD SEPARAT

O-RING - plug

1шт.

67

NSS

NOT SOLD SEPARAT

BALL - steel

8шт.

68

NSS

NOT SOLD SEPARAT

O-RING - seal, kickout piston

1шт.

69

NSS

NOT SOLD SEPARAT

RING - backup

1шт.

70

NSS

NOT SOLD SEPARAT

O-RING - seal, kickout piston

1шт.

71

NSS

NOT SOLD SEPARAT

RING - backup

1шт.

72

NSS

NOT SOLD SEPARAT

WASHER - spring

1шт.

73

NSS

NOT SOLD SEPARAT

O-RING - seal, poppet

1шт.

74

NSS

NOT SOLD SEPARAT

RING - backup

1шт.

75

NSS

NOT SOLD SEPARAT

O-RING - seal

3шт.

76

NSS

NOT SOLD SEPARAT

O-RING - seal, shuttle, secondary

1шт.

77

NSS

NOT SOLD SEPARAT

O-RING - seal, shuttle, secondary

1шт.

78

NSS

NOT SOLD SEPARAT

O-RING - seal, shuttle, primary

1шт.

79

NSS

NOT SOLD SEPARAT

O-RING - seal, shuttle, primary

1шт.

A47210

PLUG

ASSEMBLY - (Order 1 seat A47204, 1 ring 21590R1 and 1 o-ring 218-5002), Includes: Ref. 83 - 113

1шт.

R30185

SEAL KIT

KIT - seal, Includes: Ref. 83 and 84

1шт.

83

NSS

NOT SOLD SEPARAT

O-RING - seal, shuttle, secondary

1шт.

84

NSS

NOT SOLD SEPARAT

O-RING - seal, shuttle, secondary

1шт.

85

NSS

NOT SOLD SEPARAT

PLUG ASSEMBLY - secondary shuttle

1шт.

A52435

HOUSING ASSY.

HOUSING ASSEMBLY - detent, Includes: Ref. 88 - 113

1шт.

88

NSS

NOT SOLD SEPARAT

O-RING - seal, poppet

1шт.

89

NSS

NOT SOLD SEPARAT

RING - backup

1шт.

90

NSS

NOT SOLD SEPARAT

HOUSING - detent

1шт.

91

50-2379T1

WASHER

- guide

1шт.

92

NSS

NOT SOLD SEPARAT

BALL - steel

8шт.

93

50-2380T1

PISTON

- kickout

1шт.

94

NSS

NOT SOLD SEPARAT

O-RING - seal, piston

1шт.

95

NSS

NOT SOLD SEPARAT

RING - backup

1шт.

96

50-2381T1

RING, SNAP

RING - snap

1шт.

97

50-2382T1

RETAINER

- piston

1шт.

98

50-2383T1

SPRING

- detent

1шт.

99

NSS

NOT SOLD SEPARAT

O-RING - seal, piston

1шт.

100

NSS

NOT SOLD SEPARAT

RING - backup

1шт.

104

50-1663T1

PLUG

- orifice

1шт.

105

50-1668T1

SEAT

- poppet

1шт.

106

NSS

NOT SOLD SEPARAT

POPPET - relief

1шт.

107

NSS

NOT SOLD SEPARAT

SPRING - poppet

1шт.

108

NSS

NOT SOLD SEPARAT

WASHER - spring

1шт.

109

50-2384T1

GOVERNOR

PISTON - regulator

1шт.

110

50-1717T1

SET SCREW

- set, slotted

1шт.

111

19-868

JAM NUT,Jam, 3/8"-24, G5

- hex jam, 3/8 inch NF

1шт.

112

NSS

NOT SOLD SEPARAT

O-RING - seal, poppet

1шт.

113

NSS

NOT SOLD SEPARAT

RING - backup

1шт.

Выбрано товаров: 48