Запчасти Case IH 9180 (9-20) - HYDRAULIC COVER (09) - CHASSIS/ATTACHMENTS

Схема запчастей Case IH 9180 - (9-20) - HYDRAULIC COVER (09) - CHASSIS/ATTACHMENTS
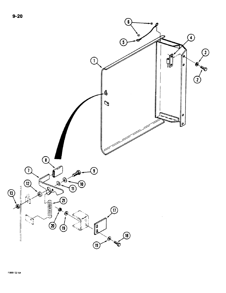
1
9
7
5
17
19
21
11
12
19
6
3
10
20
4
13
8
18
2
FIT
1:1
100%

Артикул

Название

Примечание

Количество

1

70-5014T1

COWL

COVER - hydraulic valve

1шт.

2

19-679

BOLT,Hex, 3/8" - 16 x 1", Gr 8

- hex, 3/8 NC x 1 inch, Grade 8

4шт.

3

19-1059

WASHER

- flat, hardened, 3/8 inch

4шт.

4

70-3009T1

HINGE

- cover

2шт.

5

60-4137T1

ROPE

WIRE ROPE - plastic coated

1шт.

6

60-5269T1

FERRULE - wire rope clamping

2шт.

7

70-5193T1

LATCH

- cover

1шт.

8

90-6966T1

MOLDING

- latch

1шт.

9

113-207

BOLT,Hex, 3/8" - 16 x 1", Gr 5

1шт.

10

19-107

WASHER

- flat, 3/8 x 1 x 5/64 inch

1шт.

11

19-6266T1

WAVE WASHER

- wave, 3/8 inch

1шт.

12

70-5177T1

SPACER

- pivot, latch

1шт.

13

232-4136

LOCK NUT,3/8"-16, GC

NUT - hex, lock, 3/8 inch NC

1шт.

17

70-5192T1

LATCH

STRIKER - latch, cover

1шт.

18

19-2

BOLT,Hex, 1/4" - 20 x 1", Gr 5

- hex, 1/4 NC x 1 inch

2шт.

19

495-21031

WASHER,1/4"

- flat, 5/16 x 47/64 x 0.065 inch

4шт.

20

425-104

NUT,1/4"-20, Cl 5

- hex, 1/4 inch NC

2шт.

21

11-8

SPRING

- latch return

1шт.

Выбрано товаров: 18