Запчасти Case IH 9180 (9-28) - ROPS (09) - CHASSIS/ATTACHMENTS

Схема запчастей Case IH 9180 - (9-28) - ROPS (09) - CHASSIS/ATTACHMENTS
6
9
4
8
5
10
2
3
1
7
7
11
FIT
1:1
100%

Артикул

Название

Примечание

Количество

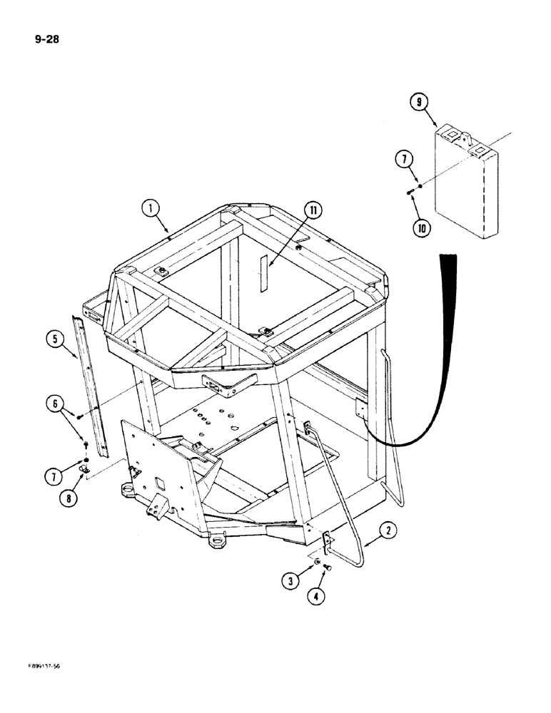
1

60-6165T1

CAB

FRAME - protective ROPS

1шт.

2

60-5778T1

HANDLE

- side grab

1шт.

3

19-107

WASHER

- flat, 3/8 x 1 x 5/64 inch

4шт.

4

113-205

BOLT,Hex, 3/8" - 16 x 5/8", Gr 5

4шт.

5

60-5855T1

GUARD

- wire protection

1шт.

6

281-1358

SELF-TAP SCREW,Hex Wash Hd, #10 x 1/2"

SCREW - tapping, flanged, No. 10 NC x 1/2 inch

6шт.

7

19-195

WASHER,#10

- flat, No. 10 x 9/16 x 3/64 inch

6шт.

8

31-1349

MOUNTING CLIP

CLAMP - harness

2шт.

9

R46464

CASE

BOX - operators manual

1шт.

10

9421295

SCREW,Hex Washer, #10 - 24 x 3/4"

- machine, flanged, No. 10 NC x 3/4 inch

3шт.

11

2-7393

DECAL - safety

1шт.

Выбрано товаров: 11