Качественные детали и логистика
Оригинальные и аналоговые запчасти с доставкой по России, Казахстану и Беларуси
©2022 PartSell ООО "Система" ИНН 2463123282 ОГРН 1212400004838
Центральный офис: г. Красноярск, Академика Киренского, д.87, пом.4
Телефон: 8 (800) 777-65-74 Email: zakaz@partsell.ru
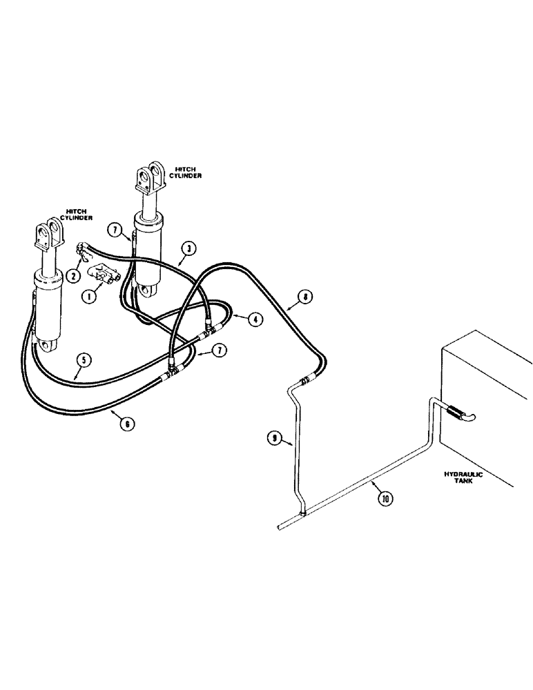
(1-20) - PICTORIAL INDEX, HITCH HYDRAULICS, MANUAL CONTROLLED
№
Артикул
Название
Примечание
Количество
1
Remote Coupler, Page 8-9,8-29,8-51
1шт.
2
Remote Coupler Cartridge, Page 8-29,8-51
3
Hitch Cylinder Supply Hose, Page 8-29
4
Left Hitch Cylinder Supply Hose, Page 8-29
5
Right Hitch Cylinder Supply Hose, Page 8-29
6
Right Hitch Cylinder Drain Hose, Page 8-29
7
Left Hitch Cylinder Drain Hose, Page 8-29
8
Hitch Cylinder Drain Hose, Page 8-29
9
Hitch Cylinder Drain Tube, Page 8-29
10
Hydraulic Return Tube, Page 8-3
Выбрано товаров: 0