Запчасти Case IH 9180 (2-02) - RADIATOR MOUNTING (02) - ENGINE

Схема запчастей Case IH 9180 - (2-02) - RADIATOR MOUNTING (02) - ENGINE
2
28
7
6
6
10
16
28
22
27
23
29
15
17
24
1
21
18
30
19
3
4
20
7
8
5
24
9
FIT
1:1
100%

Артикул

Название

Примечание

Количество

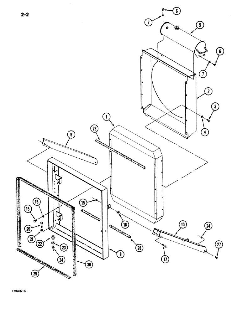
1

90-7043T91

RADIATOR

ASSEMBLY - cooling system (9170 and Panther)

1шт.

1

90-7044T91

RADIATOR

ASSEMBLY - cooling system (9180 and Lion)

1шт.

2

90-7084T1

DEFLECTOR

SHROUD - fan

1шт.

3

113-1

BOLT,Hex, 1/4" - 20 x 1/2", Gr 5

10шт.

4

113-206

BOLT,Hex, 3/8" - 16 x 3/4", Gr 5, Full Thd

6шт.

5

90-6817T2

RESERVOIR

TANK - fill, radiator (See Figure 2-4)

1шт.

6

19-6

BOLT,5/16" - 18 x 3/4", Gr 5

- hex, 5/16 NC x 3/4 inch

4шт.

7

19-107

WASHER

- flat, 3/8 x 1 x 5/64 inch

4шт.

8

90-6805T2

SUPPORT

MOUNT - radiator

1шт.

9

90-6934T2

SUPPORT

- radiator, left

1шт.

10

90-6933T1

SUPPORT

- radiator, right

1шт.

15

113-205

BOLT,Hex, 3/8" - 16 x 5/8", Gr 5

10шт.

16

25709R1

WASHER

- flat, 13/32 x 13/16 x 3/32 inch, hardened

10шт.

17

19-46

BOLT,1/2" - 13 x 2", Gr 5

- hex, 1/2 NC x 2 inch

2шт.

18

L13142

BUSHING

MOUNT - isolator, rubber

2шт.

19

19-653

LOCK NUT

- lock, 1/2 inch NC

2шт.

20

19-48

BOLT,Hex, 1/2" - 13 x 3", Gr 5

- hex, 1/2 NC x 3 inch

2шт.

21

19-463

WASHER,1/2", SAE

- flat, 1/2 x 1-1/4 x 3/32 inch

4шт.

22

47-4208

RUBBER BUSHING

MOUNT - isolator, rubber

2шт.

23

22042R1

WASHER

- flat, 17/32 x 2 x 7/64 inch

4шт.

24

70-5265T1

SEAL

- radiator to shroud (Order seal 70-5259T1 and, Serial Range: cut-length)

2шт.

27

413-824

BOLT,Hex, 1/2" - 13 x 1-1/2", Gr 5

2шт.

28

70-5265T1

SEAL

- radiator to shroud, 28 inch (Order seal 70-5259T1 and, Serial Range: cut-length)

2шт.

29

90-6832T1

SEAL

- foam, molded, 44-1/4 inch (Order seal L107724 and, Serial Range: cut-length)

1шт.

30

70-2987T1

SEAL

- foam, molded, 130 inch (Order seal F43117 and, Serial Range: cut-length)

1шт.

Выбрано товаров: 25