Запчасти Case IH 9180 (2-10) - ETHER STARTING SYSTEM (02) - ENGINE

Схема запчастей Case IH 9180 - (2-10) - ETHER STARTING SYSTEM (02) - ENGINE
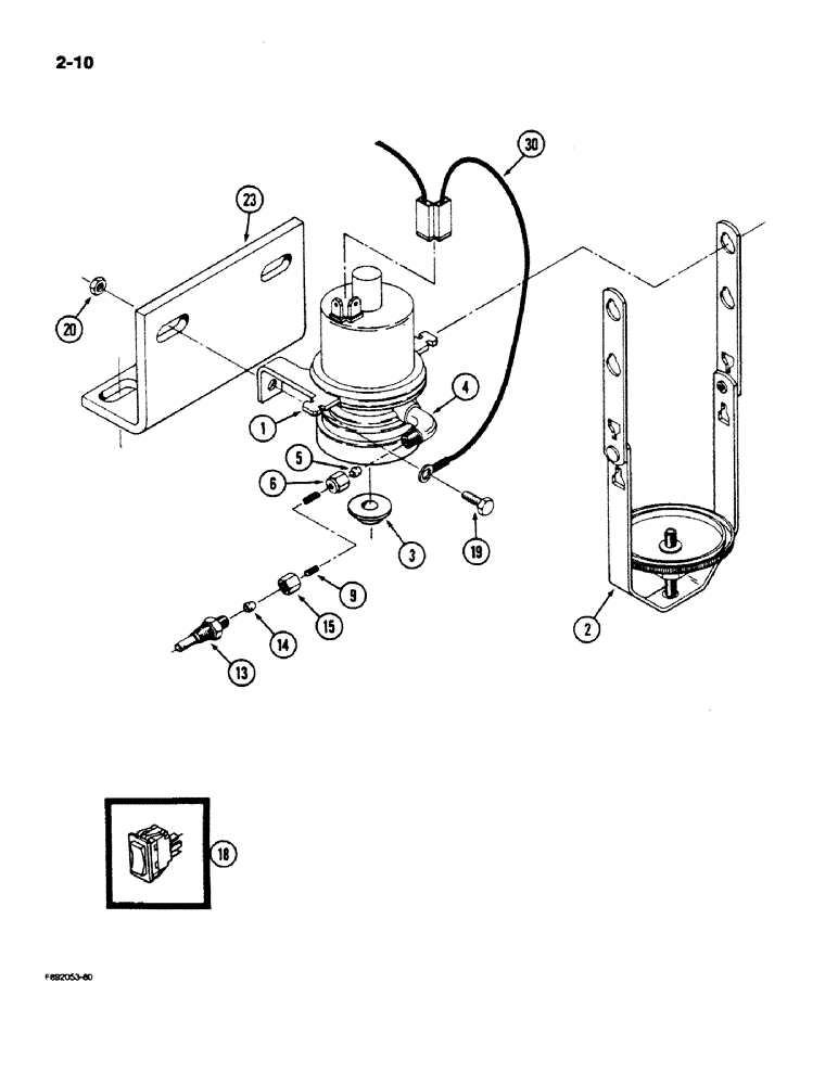
1
6
3
30
5
19
13
20
2
14
15
18
9
23
4
FIT
1:1
100%

Артикул

Название

Примечание

Количество

1

A143381

SOLENOID

ASSEMBLY - ether start, Includes: Ref. 2 - 6

1шт.

2

D77648

BAIL

HANGER - can, ether

1шт.

3

395686R1

GASKET

- injector solenoid, 15/64 inch diameter

1шт.

4

222-615

ELBOW,90 Degree, 5/16"-24 x 1/8" NPT, Comp

Incl. Ref 5 & 6 90º, 5/16"-24 x 1/8" NPT, Comp

1шт.

5

222-650

SLEEVE,1/8" Tube, Comp

1шт.

6

222-660

FLANGE NUT,5/16"-24, 45 Degree Fl, Comp

1/8" tube 5/16"-24, 45º Fl, Comp

1шт.

9

31-1347

TUBE,0.125" OD, 24" Length

- ether, 1/8 OD x 24 inch (Order tube 29-53T3 and cut to length)

1шт.

13

90-7034T1

PACKAGE

INJECTOR ASSEMBLY - nozzle, Includes: Ref. 14 and 15

1шт.

14

222-650

SLEEVE,1/8" Tube, Comp

1шт.

15

222-660

FLANGE NUT,5/16"-24, 45 Degree Fl, Comp

1/8" tube 5/16"-24, 45º Fl, Comp

1шт.

18

1964751C1

SWITCH

- rocker, ether start

1шт.

19

19-6

BOLT,5/16" - 18 x 3/4", Gr 5

- hex, 5/16 NC x 3/4 inch

2шт.

20

19-77

NUT,5/16"-18, G5

- hex, 5/16 inch NC

2шт.

23

90-1675T1

BRACKET

- mounting, ether solenoid

1шт.

30

REF

INSTRUCTION

HARNESS - engine (See Figure 4-14)

1шт.

Выбрано товаров: 15