Запчасти Case IH 9180 (4-52) - CONTROL TRACTION DIFFERENTIAL HARNESSES (04) - ELECTRICAL SYSTEMS

Схема запчастей Case IH 9180 - (4-52) - CONTROL TRACTION DIFFERENTIAL HARNESSES (04) - ELECTRICAL SYSTEMS
6
10
4
9
9
9
1
1
8
3
7
2
13
14
11
8
1
1
5
FIT
1:1
100%

Артикул

Название

Примечание

Количество

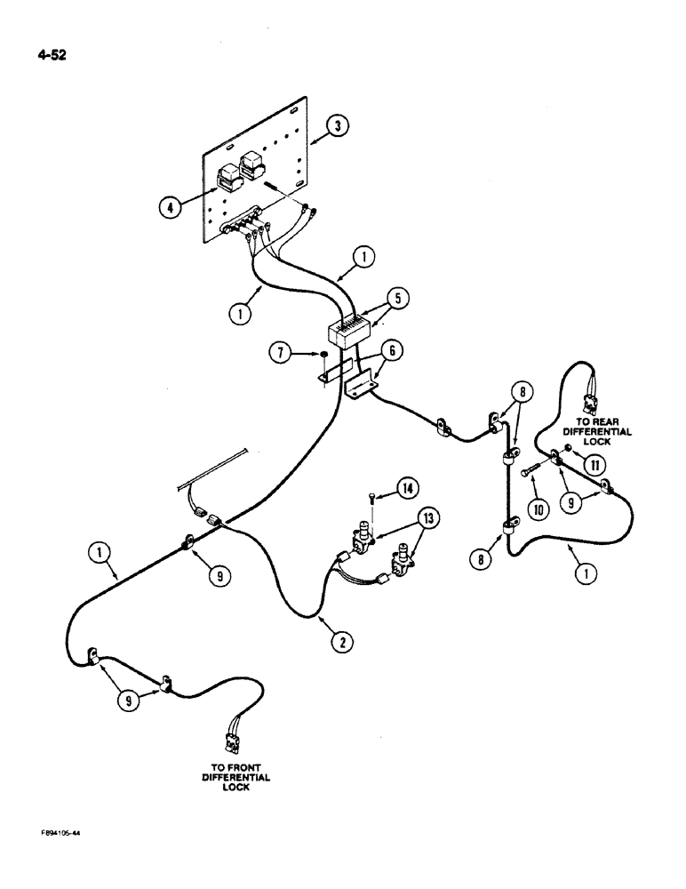
1

20-2484T1

HARNESS

ASSEMBLY - differential, front and rear

2шт.

2

60-6341T1

HARNESS

ASSEMBLY - switch, differential lock

1шт.

3

REF

INSTRUCTION

PLATE - relay mounting (See Figure 4-12)

1шт.

4

REF

INSTRUCTION

HARNESS - relay, differential (See Figure 4-12)

2шт.

5

60-6066T1

FOAM

- sealing

2шт.

6

60-6065T1

ANGLE BAR

ANGLE - retaining, foam

2шт.

7

231-1445

NUT,5/16"-18, GB

NUT - hex lock, 5/16 inch NC

4шт.

8

32-161

COLLAR CLAMP

CLAMP - retaining

3шт.

9

32-303

CLIP

CLAMP - retaining

5шт.

10

19-19

BOLT,Hex, 3/8" - 16 x 1 1/2", Gr 5

- hex, 3/8 NC x 1-1/2 inch

1шт.

11

129-103

NUT,Hex, 3/8" - 16, Gr 5

NUT, 3/8"-16, G5

1шт.

13

20-1988T1

IGNITION SWITCH

SWITCH - on/off, differential

2шт.

14

413-48

BOLT,Hex, 1/4" - 20 x 1/2", Gr 5

- hex, 1/4 NC x 1/2 inch

4шт.

Выбрано товаров: 13