Запчасти Case IH 9180 (6-34) - TRANSMISSION SHIFT CONTROLS (06) - POWER TRAIN

Схема запчастей Case IH 9180 - (6-34) - TRANSMISSION SHIFT CONTROLS (06) - POWER TRAIN
8
7
9
6
5
8
7
3
2
9
10
1
4
10
FIT
1:1
100%

Артикул

Название

Примечание

Количество

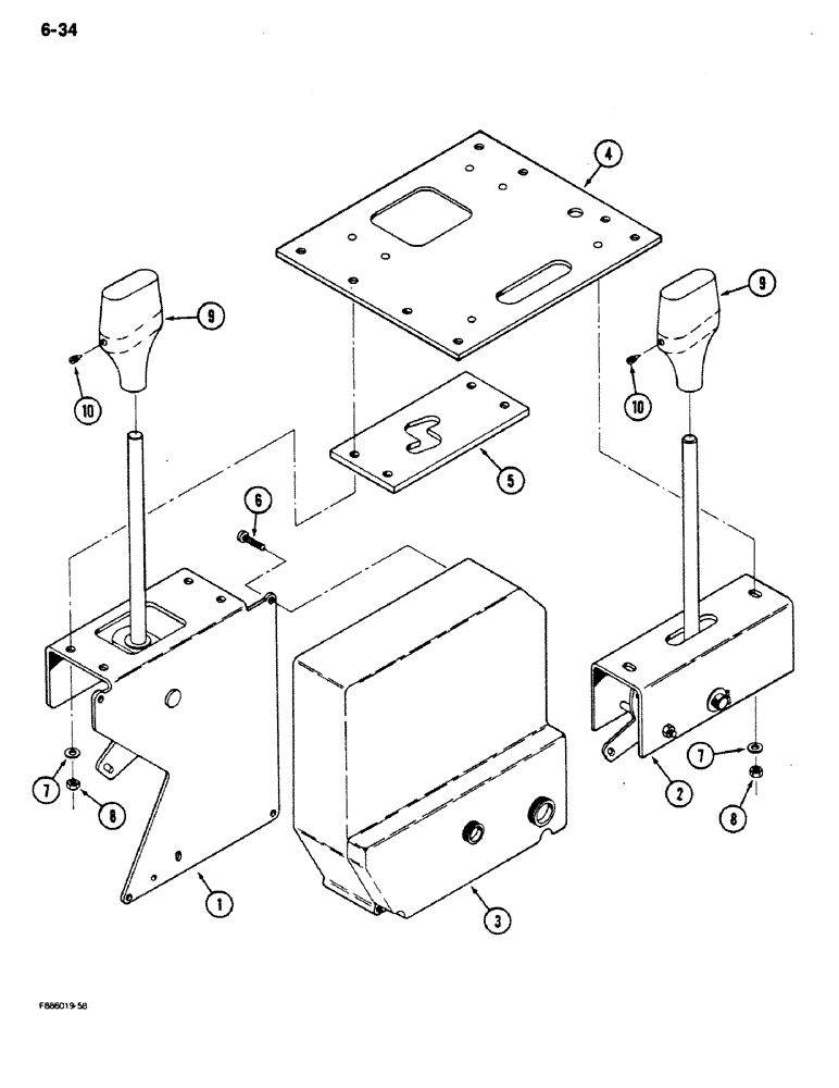
1

REF

INSTRUCTION

CONTROL ASSEMBLY - mode (See Figure 6-36)

1шт.

2

REF

INSTRUCTION

CONTROL ASSEMBLY - pulser (See Figure 6-38)

1шт.

3

60-6087T1

BOX

CONTROLLER - transmission, electronic

1шт.

3

60-6478T2R

REMAN ELECT CONTROL

9170, 9180, Both CASE IH STEIGER 4WD TRACTOR (S/N JCB0003600 & AFTER), CONTROLLER transmission, electronic (7/89-7/90)

1шт.

3

60-6478T2C

CORE-ELECTRONIC CONT

Return Number

1шт.

4

60-6139T1

BRACKET

PLATE - adapter, control mounting

1шт.

5

60-6140T1

LARGE PLATE

PLATE - wear, mode

1шт.

6

19-1018

SELF-TAP SCREW,Cross Pan Hd, #10 x 3/4"

SCREW - tapping, pan, No. 10 NS x 3/4 inch

4шт.

7

25707R1

WASHER,.281" x 5/8" x .075", HDN

- flat, hardened

14шт.

8

19-6082

JAM NUT

- hex, locking, 1/4 inch NC

14шт.

9

60-6036T1

KNOB

KNOB - shift handles

2шт.

10

19-5798

SET SCREW

SCREW - set, No. 8 NC

2шт.

Выбрано товаров: 0