Запчасти Case IH 9180 (6-36) - TRANSMISSION SHIFT CONTROLS, MODE CONTROL (06) - POWER TRAIN

Схема запчастей Case IH 9180 - (6-36) - TRANSMISSION SHIFT CONTROLS, MODE CONTROL (06) - POWER TRAIN
13
21
8
14
10
5
3
11
4
17
12
3
18
20
9
1
12
23
7
6
3
16
3
22
15
2
9
19
13
FIT
1:1
100%

Артикул

Название

Примечание

Количество

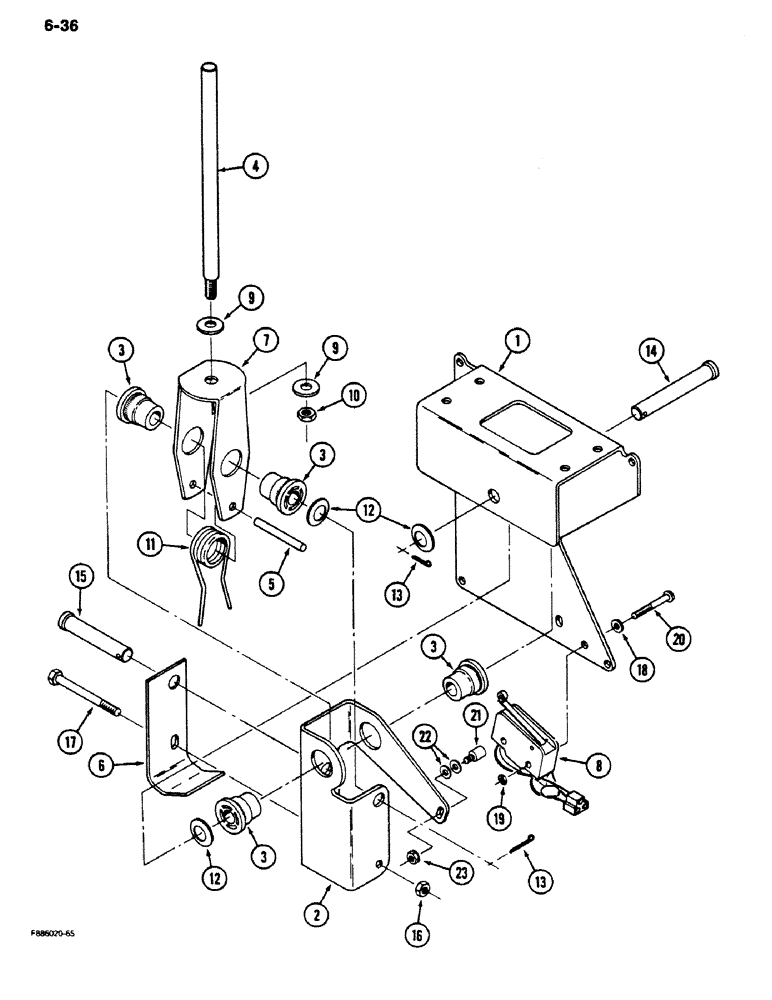
60-6060T91

CONTROL

- mode, forward or reverse, Includes: Ref. 1 - 20

1шт.

1

60-6057T1

BRACKET

CHANNEL - control mounting

1шт.

2

60-5887T1

JOINT

TRUNNION - shift control

1шт.

3

60-6141T1

BUSHING

- flanged pivot, nylon

4шт.

4

60-5886T1

STEM

ROD - shift control

1шт.

5

60-5892T1

PIN

- spring tension

1шт.

6

60-6056T1

LARGE PLATE

STRIKER - switch actuating

1шт.

7

60-5888T1

LEVER

YOKE - pivot, shift control

1шт.

8

60-6059T91

IGNITION SWITCH

SWITCH - neutral

1шт.

9

25709R1

WASHER

- flat, 13/32 x 13/16 x 3/32 inch, hardened

2шт.

10

19-295

NUT,Jam, 3/8" - 16, Gr 5

- hex jam, 3/8 inch NC

1шт.

11

60-6197T1

SPRING

- neutral return

1шт.

12

19-6034

SPRING WASHER

- spring, 1/2 x 1 x 1/64 inch

3шт.

13

19-168

COTTER PIN,1/8" x 1"

PIN - cotter, 1/8 x 1 inch

2шт.

14

19-6158

CLEVIS PIN,1/2" x 2 3/4"

PIN - clevis, 1/2 x 2-3/4 inch

1шт.

15

H382416

CLEVIS PIN

PIN - clevis, 1/2 x 2-1/4 inch

1шт.

16

111626C1

NUT

- lock, 1/4 inch NC

1шт.

17

113-12

BOLT,Hex, 1/4" - 20 x 2-1/2", Gr 5

- hex, 1/4 NC x 2-1/2 inch

1шт.

18

19-708

WASHER,#6

- flat, No. 6 x 3/8 x 1/16 inch

2шт.

19

19-1013

NUT

- hex, No. 6 NC

2шт.

20

182-530

SCREW,Sl Pan Hd, #6 - 32 x 1 1/4"

- machine, pan, No.6 NC x 1-1/4 inch

2шт.

21

20-1316T1

ACTUATOR

- mode

1шт.

22

446143

WASHER

- flat, No.8

2шт.

23

193-1002

NUT,Keps, #8 - 32, w/ Ext Tooth LW

- keps, No. 8 NC

1шт.

Выбрано товаров: 24