Запчасти Case IH 9180 (6-38) - TRANSMISSION SHIFT CONTROLS, PULSER CONTROL (06) - POWER TRAIN

Схема запчастей Case IH 9180 - (6-38) - TRANSMISSION SHIFT CONTROLS, PULSER CONTROL (06) - POWER TRAIN
3
6
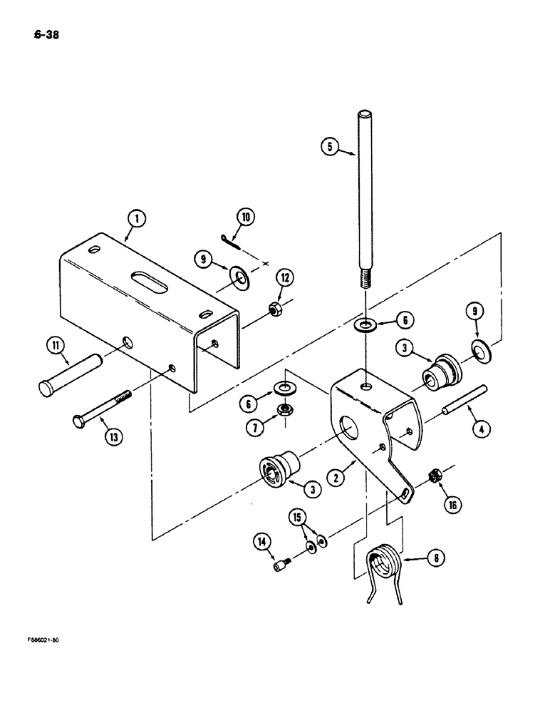
1
9
2
3
8
13
7
10
5
16
12
4
9
11
15
6
14
FIT
1:1
100%

Артикул

Название

Примечание

Количество

60-6061T91

CONTROL

- pulser, upshift or downshift, Includes: Ref. 1 - 13

1шт.

1

60-5889T1

BRACKET

- control mounting

1шт.

2

60-5890T1

FORK

YOKE - pivot, shift control

1шт.

3

60-6141T1

BUSHING

- flanged pivot, nylon

2шт.

4

60-5892T1

PIN

- spring tension

1шт.

5

60-5885T1

ROD

- shift control

1шт.

6

25709R1

WASHER

- flat, 13/32 x 13/16 x 3/32 inch, hardened

2шт.

7

19-295

NUT,Jam, 3/8" - 16, Gr 5

- hex jam, 3/8 inch NC

1шт.

8

60-6197T1

SPRING

- neutral return

1шт.

9

19-6034

SPRING WASHER

- spring, 1/2 x 1 x 1/64 inch

2шт.

10

19-168

COTTER PIN,1/8" x 1"

PIN - cotter, 1/8 x 1 inch

1шт.

11

H382416

CLEVIS PIN

PIN - clevis, 1/2 x 2-1/4 inch

1шт.

12

111626C1

NUT

- hex lock, 1/4 inch NC

1шт.

13

113-12

BOLT,Hex, 1/4" - 20 x 2-1/2", Gr 5

- hex, 1/4 NC x 2-1/2 inch

1шт.

14

20-1316T1

ACTUATOR

- mode

1шт.

15

446143

WASHER

- flat, No.8

2шт.

16

193-1002

NUT,Keps, #8 - 32, w/ Ext Tooth LW

- keps, No. 8 NC

1шт.

Выбрано товаров: 17