Запчасти Case IH 9190 (9-24) - SEAT, MECHANICAL SUSPENSION (09) - CHASSIS/ATTACHMENTS

Схема запчастей Case IH 9190 - (9-24) - SEAT, MECHANICAL SUSPENSION (09) - CHASSIS/ATTACHMENTS
17
20
4
28
3
12
8
27
18
30
31
13
1
22
2
19
9
30
7
11
29
21
10
FIT
1:1
100%

Артикул

Название

Примечание

Количество

60-1876T92

SEAT ASSY.

SEAT ASSEMBLY - mechanical suspension

1шт.

Includes: Ref. 1 - 31 on Figure 9-24, 1 - 25 on Figure 9-26, 1 - 34 on Figure 9-28, 1 - 59 on Figure 9-30 and 1 - 37 on Figure 9-32.

1шт.

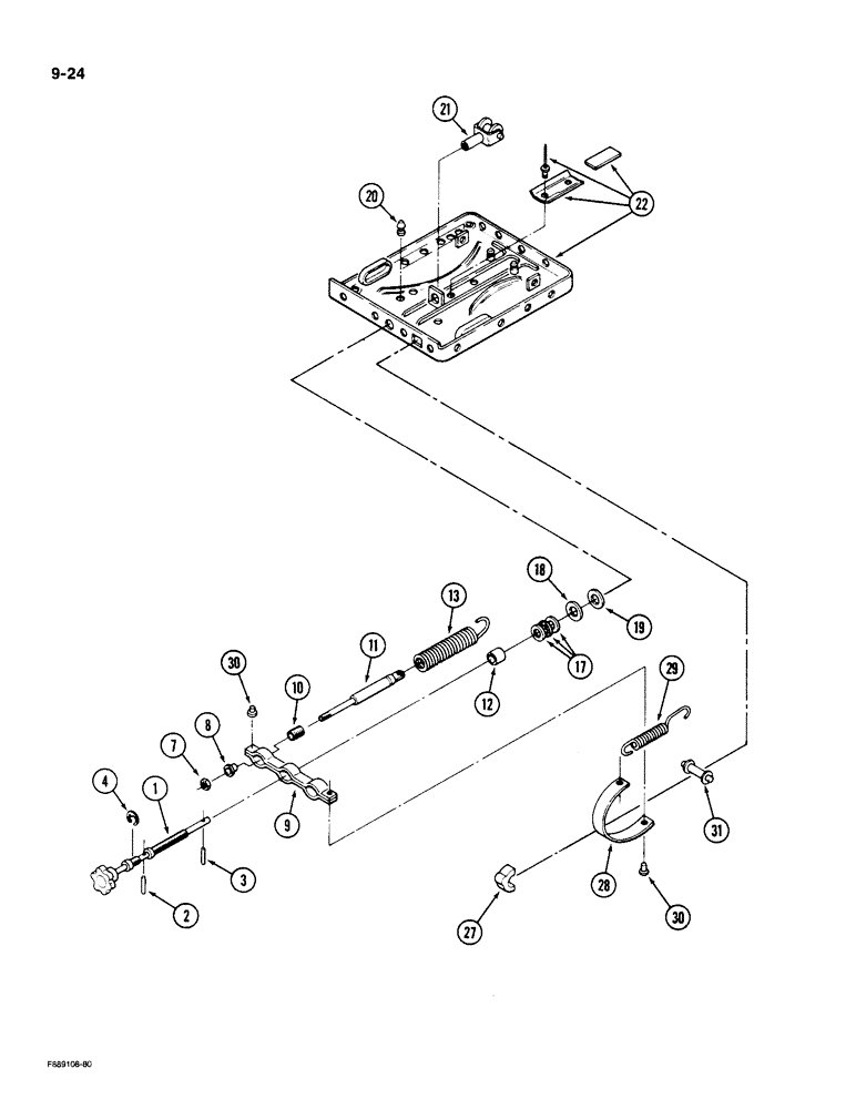
1

60-3202T91

SPINDLE

ASSEMBLY - weight adjustment, Includes: Ref. 2 - 4

1шт.

2

40-1180

PIN

- spring, 4 x 20 mm

1шт.

3

40-1179

PIN

- spring, 3 x 16 mm

1шт.

4

40-1178

RING

- snap, 15 mm

1шт.

7

43362

NUT,M8 x 1.25, Cl 10

- hex jam, 8 mm

2шт.

8

60-1629T1

NUT

- weld, 8 mm

2шт.

9

60-1583T1

SPRING

YOKE - spring

1шт.

10

60-1630T1

SLEEVE

- threaded

2шт.

11

60-1581T1

SHOCK ABSORBER

- seat

2шт.

12

60-1631T1

TUBE

TUBING - spacer

1шт.

13

60-1595T1

SPRING

- shock absorber

2шт.

17

60-1586T1

BEARING ASSY

- thrust

1шт.

18

60-1587T1

WASHER

- flat, 8 mm

1шт.

19

60-1579T1

RUBBER WASHER

- flat, rubber

1шт.

20

60-3242T1

BUMPER

- rubber

2шт.

21

60-3184T1

BEARING ASSY

SLIDE - bearing and bracket

1шт.

22

60-1614T1

PLATE

- lower suspension

1шт.

27

60-1584T1

LENS

- magnifier, weight indicator band

1шт.

28

60-1594T1

BAND

- weight indicator

1шт.

29

60-1596T1

SPRING

- weight indicator band

1шт.

30

60-1585T1

FASTENER

- snap, weight indicator band

2шт.

31

60-1580T1

ROLLER

- weight indicator band.

1шт.

Выбрано товаров: 24