Запчасти Case IH 9190 (2-04) - RADIATOR MOUNTING (02) - ENGINE

Схема запчастей Case IH 9190 - (2-04) - RADIATOR MOUNTING (02) - ENGINE
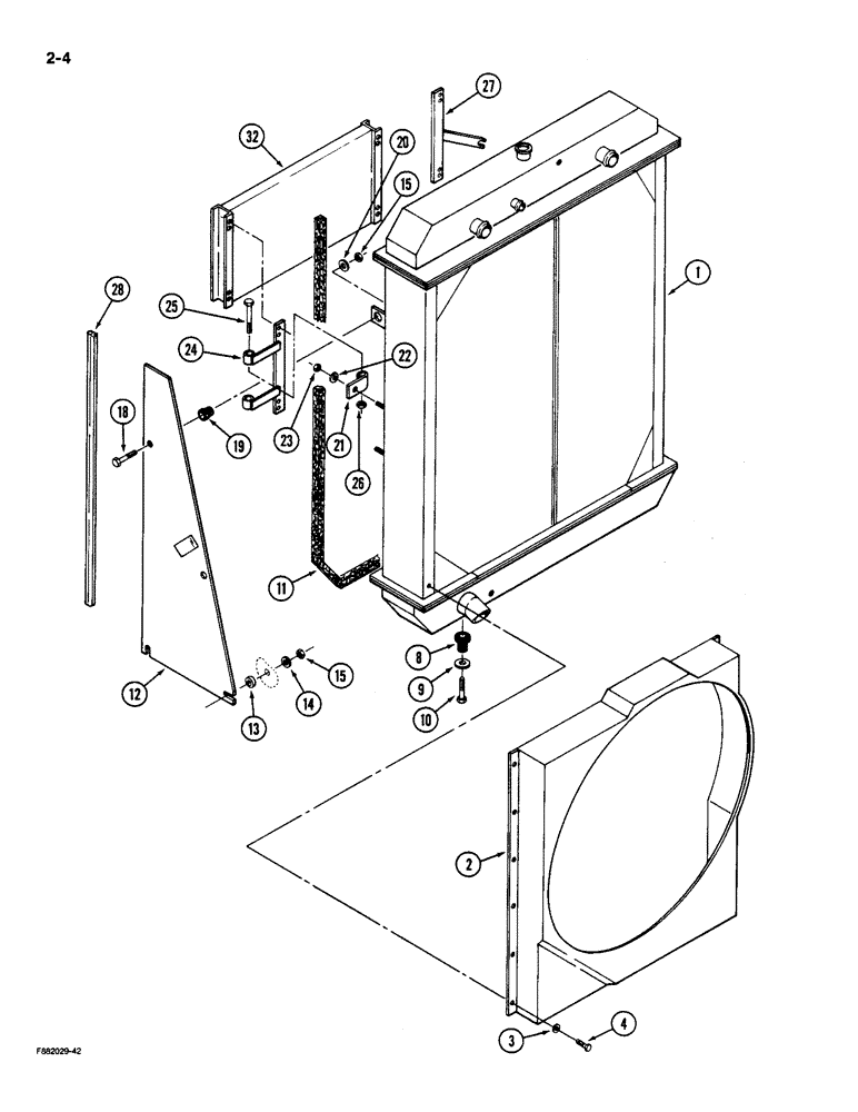
11
2
20
13
8
15
25
24
15
27
18
3
10
28
14
21
26
32
23
4
22
9
12
1
19
FIT
1:1
100%

Артикул

Название

Примечание

Количество

1

REF

INSTRUCTION

RADIATOR ASSEMBLY - cooling system, See Figure 2-08

1шт.

2

47-4765T1

SHROUD

- radiator and fan

1шт.

3

19-700

WASHER,5/16"

- flat, 5/16 x 7/8 x 5/64 inch

11шт.

4

19-7

BOLT,Hex, 5/16" - 18 x 1", Gr 5

- hex, 5/16 NC x 1 inch

11шт.

8

47-4208

RUBBER BUSHING

MOUNT - isolator, rubber

2шт.

9

22042R1

WASHER

- flat, 1/2 x 2 x 1/8 inch

2шт.

10

80087972

BOLT,Hex, 1/2" - 13 x 2 1/2", Gr 5

- hex, 1/2 NC x 2-1/2 inch

2шт.

11

70-2922T1

FOAM

SEAL - foam, radiator

1шт.

12

70-2909T1

SUPPORT - radiator, left

1шт.

12

70-2912T1

SUPPORT - radiator, right

1шт.

13

70-2908T1

SPACER - radiator, 1/2 x 1-1/4 x 3/4 inch

2шт.

14

495-21056

WASHER,1/2"

- flat, 1/2 x 1-3/8 x 7/64 inch

4шт.

15

19-81

NUT,1/2"-13, G5

- hex, 1/2 inch NC

6шт.

18

19-46

BOLT,1/2" - 13 x 2", Gr 5

- hex, 1/2 NC x 2 inch

2шт.

19

18-511

MOUNTING PARTS

MOUNT - isolator, rubber

2шт.

20

19-500

WASHER

- isolator mount

2шт.

21

51-440

HINGE

- condensor mount

2шт.

22

19-107

WASHER

- flat, 3/8 x 1 x 5/64 inch

3шт.

23

129-103

NUT,Hex, 3/8" - 16, Gr 5

NUT, 3/8"-16, G5

3шт.

24

47-4526

HINGE

MOUNT - hinged, condensor

1шт.

25

113-267

BOLT,Hex, 3/8" - 16 x 4", Gr 5

2шт.

26

232-4136

LOCK NUT,3/8"-16, GC

NUT - hex, lock, 3/8 inch NC

2шт.

27

47-4527

LATCH

- condensor mounting

1шт.

28

70-2924T1

SEAL - foam, molded

2шт.

32

REF

INSTRUCTION

CONDENSOR - air conditioning, See Figure 9-74

1шт.

Выбрано товаров: 25