Запчасти Case IH 9190 (2-08) - RADIATOR ASSEMBLY (02) - ENGINE

Схема запчастей Case IH 9190 - (2-08) - RADIATOR ASSEMBLY (02) - ENGINE
7
16
18
15
4
13
8
2
3
12
13
18
5
6
14
6
16
17
1
FIT
1:1
100%

Артикул

Название

Примечание

Количество

90-3668T91

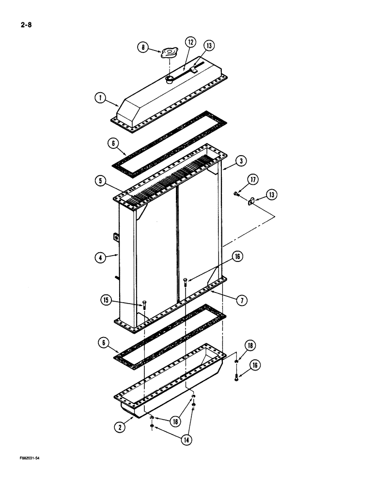
RADIATOR ASSEMBLY - cooling system, Includes: Ref. 1 - 8

1шт.

1

90-4643T1

TOP

TANK - top, radiator

1шт.

2

90-4644T1

TANK

- bottom, radiator

1шт.

3

90-4645T1

SIDE - radiator, left

1шт.

4

90-4646T1

SIDE - radiator, right

1шт.

5

90-1552T1

CORE

- radiator

1шт.

6

2-5329T1

GASKET

- header

2шт.

7

2-4354T1

BAR

- header

4шт.

8

90-4253T1

CAP

- radiator

1шт.

12

NSS

NOT SOLD SEPARAT

HOSE - overflow (Order 31-1259T1, cut to length), Includes: Ref. 13 - 18

1шт.

31-1259T1

HOSE,0.25" ID x 120.00" Bulk

- bulk roll, 10 ft, Includes: Ref. 13 - 18

1шт.

13

1-2601

CLIP

CLAMP - hose, overflow

3шт.

14

19-77

NUT,5/16"-18, G5

- hex, 5/16 inch NC

84шт.

15

413-520

BOLT,Hex, 5/16" - 18 x 1-1/4", Gr 5

- hex, 5/16 NC x 1-1/4 inch

24шт.

16

19-7

BOLT,Hex, 5/16" - 18 x 1", Gr 5

- hex, 5/16 NC x 1 inch

88шт.

17

19-6

BOLT,5/16" - 18 x 3/4", Gr 5

- hex, 5/16 NC x 3/4 inch

4шт.

18

19-116

LOCK WASHER,5/16"

5/16"

116шт.

Выбрано товаров: 17