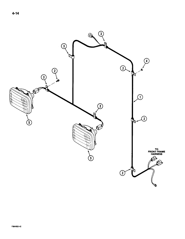
Запчасти Case IH 9190 (4-14) - FRONT HEADLIGHT HARNESS (04) - ELECTRICAL SYSTEMS

Схема запчастей Case IH 9190 - (4-14) - FRONT HEADLIGHT HARNESS (04) - ELECTRICAL SYSTEMS
1
2
3
3
5
3
4
5
3
3
3
3
FIT
1:1
100%

Артикул

Название

Примечание

Количество

1

1-8628T1

HARNESS

ASSEMBLY - headlamp

1шт.

2

276-1478

SELF-TAP SCREW,Hex Hd, 1/4" x 1/2"

SCREW - tapping, flanged head, 1/4 NC x 1/2 inch

3шт.

3

22-635

MOUNTING CLIP

CLAMP - hose, overflow

7шт.

4

425-104

NUT,1/4"-20, Cl 5

- hex, 1/4 inch NC

4шт.

5

REF

INSTRUCTION

LAMP ASSEMBLY - head, See Figure 4-34

2шт.

Выбрано товаров: 5