Запчасти Case IH 9190 (4-44) - WINDOW WASHER, IF EQUIPPED (04) - ELECTRICAL SYSTEMS

Схема запчастей Case IH 9190 - (4-44) - WINDOW WASHER, IF EQUIPPED (04) - ELECTRICAL SYSTEMS
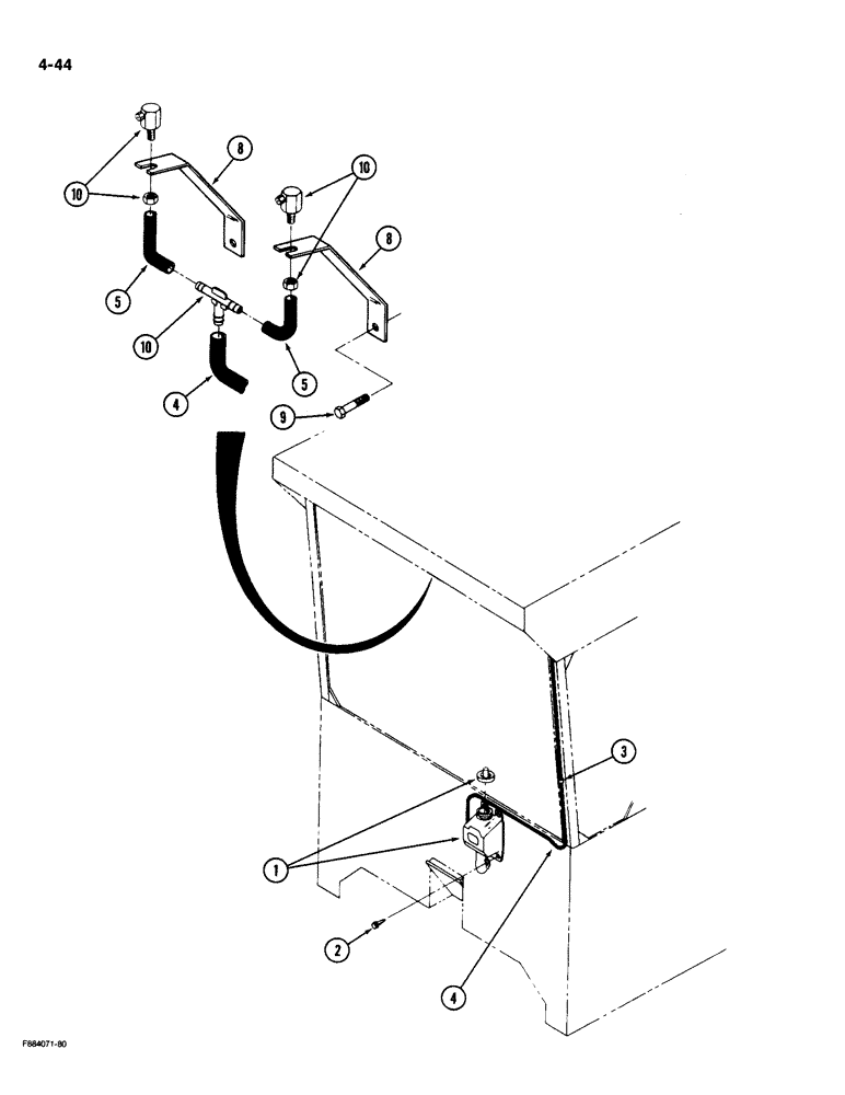
4
8
5
10
8
5
2
1
3
10
9
4
10
FIT
1:1
100%

Артикул

Название

Примечание

Количество

1

1-1346

RESERVOIR ASSY.

WASHER ASSEMBLY - tank and pump

1шт.

2

281-13712

SELF-TAP SCREW,Hex Wash Hd, 1/4" x 3/4"

SCREW - tapping, flanged head, 1/4 NC x 3/4 inch

4шт.

3

1-2135

CLIP

- hose

11шт.

4

NSS

NOT SOLD SEPARAT

TUBING - washer, 94 inch (Order 31-1631T1 and, Serial Range: cut-length)

1шт.

5

NSS

NOT SOLD SEPARAT

TUBING - washer, 5 inch (Order 31-1631T1 and, Serial Range: cut-length)

2шт.

8

4-1002

BRACKET

- mounting, nozzle

2шт.

9

19-1048T1

BOLT

- hex, 1/4 NF x 1-1/2 inch

2шт.

10

1-1345

KIT

NOZZLE ASSEMBLY - washer

1шт.

Выбрано товаров: 8