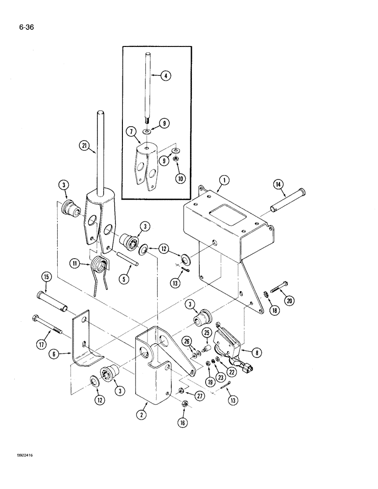
Запчасти Case IH 9210 (6-036) - TRANSMISSION SHIFT CONTROLS, MODE CONTROL (06) - POWER TRAIN

Схема запчастей Case IH 9210 - (6-036) - TRANSMISSION SHIFT CONTROLS, MODE CONTROL (06) - POWER TRAIN
8
12
6
5
27
10
9
11
4
13
16
12
14
3
18
3
25
15
26
22
9
3
3
17
19
20
23
1
21
2
13
7
FIT
1:1
100%

Артикул

Название

Примечание

Количество

60-6060T91

CONTROL

ASSEMBLY - mode, forward or reverse, Includes: Ref. 1 - 23

1шт.

1

60-6057T2

BRACKET

CHANNEL - mounting, control

1шт.

2

60-5887T1

JOINT

TRUNNION - shift control

1шт.

3

60-6141T1

BUSHING

- flanged pivot, nylon

4шт.

4

60-5886T1

STEM

ROD - shift control (Order Ref. 21)

1шт.

5

60-5892T1

PIN

- spring tension

1шт.

6

60-6056T1

LARGE PLATE

STRIKER - switch actuating

1шт.

7

60-5888T1

LEVER

YOKE - pivot, shift control (Order Ref. 21)

1шт.

8

60-6059T91

IGNITION SWITCH

SWITCH - neutral

1шт.

9

495-11041

WASHER,0.406" ID x 0.812" OD x 0.065" W

(Flat, 13/32 x 13/16 x 1/16") 3/8", SAE

2шт.

10

25932R1

JAM NUT,Jam, 3/8"-16, G5

- hex jam, 3/8 inch NC

1шт.

11

60-6197T1

SPRING

- return, neutral

1шт.

12

19-6034

SPRING WASHER

- spring, 1/2 x 1 x 1/64 inch

3шт.

13

432-816

COTTER PIN,1/8" x 1"

1/8" x 1"

2шт.

14

19-6158

CLEVIS PIN,1/2" x 2 3/4"

PIN - clevis, 1/2 x 2-3/4 inch

1шт.

15

H382416

CLEVIS PIN

PIN - clevis, 1/2 x 2-1/4 inch

1шт.

16

111626C1

NUT

- hex lock, 1/4 inch NC

1шт.

17

113-12

BOLT,Hex, 1/4" - 20 x 2-1/2", Gr 5

- hex, 1/4 NC x 2-1/2 inch

1шт.

18

493-11014

LOCK WASHER,Ext-Int Tooth, #6

WASHER - internal/external lock, No. 6

2шт.

19

19-1013

NUT

- hex, No. 6 NC

2шт.

20

470-10620

SCREW,Pan HD, #6 - 32 x 1-1/4"

- pan head slotted machine, No. 6 NC x 1-1/4 inch

2шт.

21

60-6756T1

LEVER ASSY.

YOKE - pivot, shift control (Replaces Ref. 4, 7, 9 and 10)

1шт.

22

495-31016

WASHER,#6

2шт.

23

492-11006

LOCK WASHER,#6

Washer, Lock, #6

2шт.

25

20-1316T1

ACTUATOR

- mode

1шт.

26

446143

WASHER

- flat, No. 8

2шт.

27

193-1002

NUT,Keps, #8 - 32, w/ Ext Tooth LW

- hex, Keps, No. 8 NC

1шт.

Выбрано товаров: 27