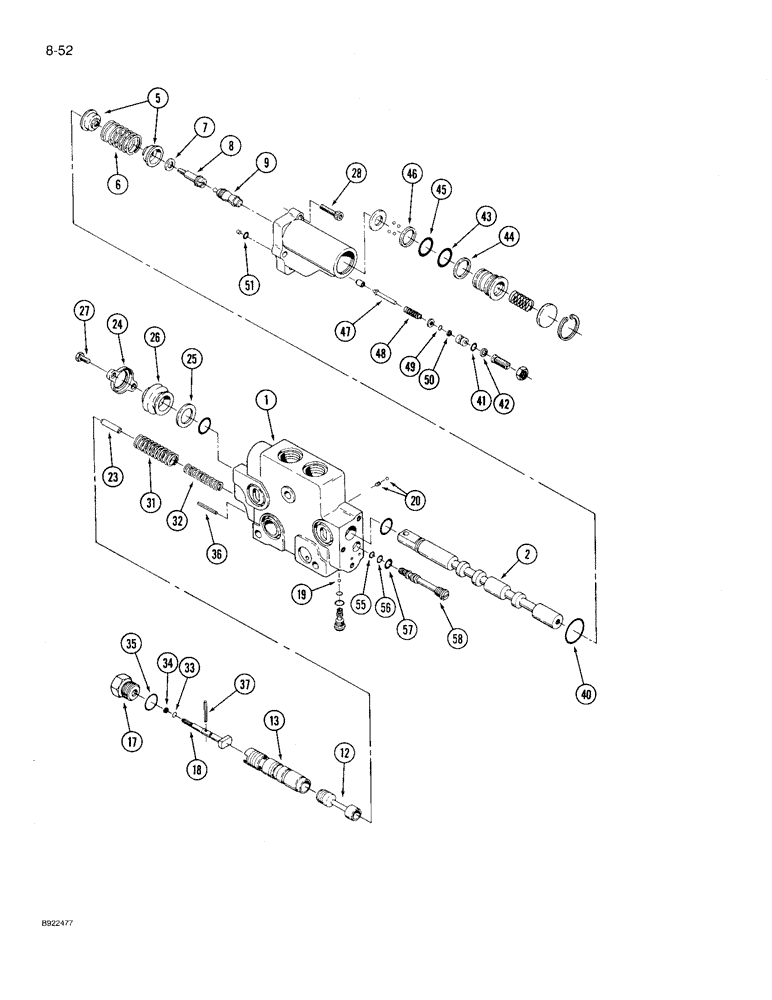
Запчасти Case IH 9210 (8-052) - HYDRAULIC REMOTE VALVE SECTION, FIRST, SECOND, THIRD AND FOURTH WITH FLOAT (08) - HYDRAULICS

Схема запчастей Case IH 9210 - (8-052) - HYDRAULIC REMOTE VALVE SECTION, FIRST, SECOND, THIRD AND FOURTH WITH FLOAT (08) - HYDRAULICS
8
36
44
12
41
9
49
28
56
20
37
35
13
17
50
57
27
51
43
1
23
24
34
31
19
2
26
6
18
32
40
25
42
7
58
46
5
47
45
33
48
55
FIT
1:1
100%

Артикул

Название

Примечание

Количество

50-2302T91

ASSEMBLY

SECTION ASSEMBLY - remote (with float), Includes: Ref. 1 - 58 and 62 - 113 on Figure 8-054

1шт.

1

NSS

NOT SOLD SEPARAT

BODY - valve

1шт.

2

NSS

NOT SOLD SEPARAT

SPOOL - valve

1шт.

5

A47197

RETAINER

- spring

2шт.

6

A47177

SPRING

- centering

1шт.

7

A47199

BUSHING

SPACER - detent

1шт.

8

A47193

COUPLING, BREAK AWAY

COUPLER - detent pivot

1шт.

9

NSS

NOT SOLD SEPARAT

SHAFT - detent

1шт.

12

A48957

SPOOL

- flow control

1шт.

13

A48956

TUBE

- flow control, spool

1шт.

17

A48925

PLUG

- adjusting, flow control

1шт.

18

A48929

SHAFT

- adjusting, flow control

1шт.

19

104916

BALL BEARING,0.1875 mm OD

- steel

1шт.

20

A47105

PLUG

- expansion

1шт.

23

A48937

PIN

- guide, spring

1шт.

24

A47196

RETAINER

- dust guard

1шт.

25

A47205

SEAL,22.61mm ID x 32.13mm OD x 2.67mm Thk

FILTER - spool

1шт.

26

A47188

COVER

BOOT - dust

1шт.

27

413-410

BOLT,Hex, 1/4" - 20 x 5/8", Gr 5

- hex, 1/4 NC x 5/8 inch

2шт.

28

61-32516

HEX SOC SCREW,1/4"-20 x 1"

BOLT - hex socket, 1/4 NC x 1 inch

3шт.

50-2386T1

SEAL KIT

KIT - seal, flow control, Includes: Ref. 31 - 37

1шт.

31

NSS

NOT SOLD SEPARAT

SPRING - flow control, outer

1шт.

32

NSS

NOT SOLD SEPARAT

SPRING - flow control, inner

1шт.

33

NSS

NOT SOLD SEPARAT

O-RING - seal, shaft

1шт.

34

NSS

NOT SOLD SEPARAT

RING - backup

1шт.

35

NSS

NOT SOLD SEPARAT

O-RING - plug

1шт.

36

NSS

NOT SOLD SEPARAT

PIN - spring, control stop

1шт.

37

NSS

NOT SOLD SEPARAT

PIN - spring, control stop

1шт.

A48942

KIT

- seal, detent, Includes: Ref. 40 - 51

1шт.

40

NSS

NOT SOLD SEPARAT

O-RING - seal, detent housing

1шт.

41

NSS

NOT SOLD SEPARAT

O-RING - relief

1шт.

42

NSS

NOT SOLD SEPARAT

RING - backup

1шт.

43

NSS

NOT SOLD SEPARAT

O-RING - seal, kickout piston

1шт.

44

NSS

NOT SOLD SEPARAT

RING - backup

1шт.

45

NSS

NOT SOLD SEPARAT

O-RING - seal, kickout piston

1шт.

46

NSS

NOT SOLD SEPARAT

RING - backup

1шт.

47

NSS

NOT SOLD SEPARAT

POPPET - relief

1шт.

48

NSS

NOT SOLD SEPARAT

SPRING - poppet

1шт.

49

NSS

NOT SOLD SEPARAT

O-RING - seal, poppet

1шт.

50

NSS

NOT SOLD SEPARAT

RING - backup

1шт.

51

NSS

NOT SOLD SEPARAT

O-RING - housing

1шт.

A47209

SPOOL

SHUTTLE ASSEMBLY - primary, Includes: Ref. 55 - 58

1шт.

50-1655T1

SEAL KIT

KIT - seal, primary shuttle, Includes: Ref. 55 - 57

1шт.

55

NSS

NOT SOLD SEPARAT

O-RING - seal

1шт.

56

NSS

NOT SOLD SEPARAT

O-RING - seal

1шт.

57

NSS

NOT SOLD SEPARAT

O-RING - seal

1шт.

58

NSS

NOT SOLD SEPARAT

SHUTTLE - primary

1шт.

Выбрано товаров: 47