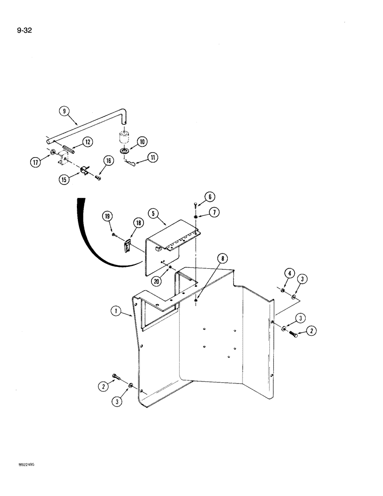
Запчасти Case IH 9210 (9-032) - HYDRAULIC OIL TANK COVER (09) - CHASSIS/ATTACHMENTS

Схема запчастей Case IH 9210 - (9-032) - HYDRAULIC OIL TANK COVER (09) - CHASSIS/ATTACHMENTS
3
6
7
12
19
18
15
3
16
1
4
20
5
8
2
11
10
17
2
3
9
FIT
1:1
100%

Артикул

Название

Примечание

Количество

1

70-4548T1

COVER

- oil tank, hydraulic

1шт.

2

413-616

BOLT,Hex, 3/8" - 16 x 1", Gr 5

- hex, 3/8 NC x 1 inch

6шт.

3

495-21050

WASHER,7/16"

- flat, 7/16 x 1 x 5/64 inch (Replaces 495-21044)

8шт.

4

425-106

NUT,3/8"-16, Cl 5

2шт.

5

70-4708T1

COVER

DOOR - access, oil tank

1шт.

6

413-512

BOLT,Hex, 5/16" - 18 x 3/4", Gr 5

- hex, 5/16 NC x 3/4 inch

3шт.

7

495-21038

WASHER,5/16"

(flat, 3/8 x 7/8 x 5/64") 5/16"

3шт.

8

27254R1

NUT

- hex lock, 5/16 inch NC

3шт.

9

70-4815T1

ROD

- support, door

1шт.

10

496-21034

WASHER,11/32" x 11/16" x 0.89", HDN

1шт.

11

32-612

COTTER PIN,3/32" x 3/4"

PIN, SPLIT (COTTER), 3/32" x 3/4"

1шт.

12

19-5361

LOCK PIN,1/8" x 1 1/4", Slotted

Pin, 1/8" x 1 1/4", Slotted

1шт.

15

19-5988

CLIP

- retaining, rod

1шт.

16

51200257

SCREW

- round head machine, No. 2 NC x 3/4 inch

1шт.

17

70-4485T1

NUT

RETAINER - rod clip

1шт.

18

70-4156T1

LATCH

- access door

1шт.

19

340-1068

SCREW,Cross Pan Hd, #6-32 x 1/2"

- pan head machine, No. 6 NC x 1/2 inch

2шт.

20

19-5564

LOCK NUT,#6-32, GB

NUT - hex lock, No. 6 NC

2шт.

Выбрано товаров: 18