Запчасти Case IH 9230 (1-022) - PICTORIAL INDEX, HITCH HYDRAULICS, ELECTRONICALLY CONTROLLED (00) - PICTORIAL INDEX

Схема запчастей Case IH 9230 - (1-022) - PICTORIAL INDEX, HITCH HYDRAULICS, ELECTRONICALLY CONTROLLED (00) - PICTORIAL INDEX
10
6
3
8
5
4
7
9
11
2
1
FIT
1:1
100%

Артикул

Название

Примечание

Количество

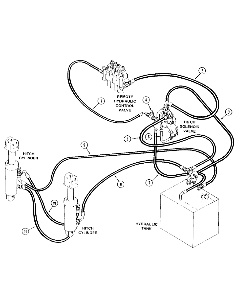
1

Hitch Valve Sense Hose, Page 8-27

1шт.

2

Hitch Valve Supply Hose, Page 8-27

1шт.

3

Hitch Valve Drain Hose, Page 8-27

1шт.

4

Shuttle Valve, Hydraulic, Page 8-27

1шт.

5

Hitch Cylinder Supply Hose, Page 8-27

1шт.

6

Pressure Reducing Valve Tube, Page 8-27

1шт.

7

Pressure Reducing Valve Drain Hose, Page 8-27

1шт.

8

Hitch Cylinder Supply Hose, Page 8-29

1шт.

9

Hitch Cylinder Drain Hose, Page 8-29

1шт.

10

Hitch Cylinder to Hitch Cylinder Drain Hose, Page 8-29

1шт.

11

Hitch Cylinder to Hitch Cylinder Supply Hose, Page 8-29

1шт.

Выбрано товаров: 0