Запчасти Case IH 9230 (2-002) - RADIATOR MOUNTING (02) - ENGINE

Схема запчастей Case IH 9230 - (2-002) - RADIATOR MOUNTING (02) - ENGINE
23
16
3
20
5
37
20
5
23
21
22
3
3
3
21
9
13
5
35
37
22
8
5
23
1
33
8
21
23
15
36
20
34
4
14
15
5
23
3
16
19
22
FIT
1:1
100%

Артикул

Название

Примечание

Количество

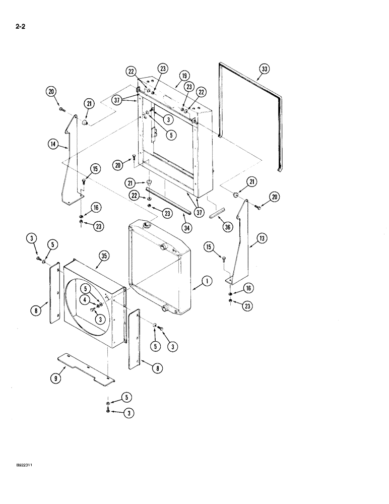
1

A190762

RADIATOR

ASSEMBLY - cooling system, See Figure 2-004

1шт.

3

413-58

BOLT,Hex, 5/16" - 18 x 1/2", Gr 5

- hex, 5/16 NC x 1/2 inch

25шт.

4

492-11031

LOCK WASHER,5/16"

WASHER, LOCK, 5/16"

8шт.

5

495-21038

WASHER,5/16"

(flat, 3/8 x 7/8 x 5/64") 5/16"

24шт.

8

90-7360T2

SHIELD

- fan sides

2шт.

9

90-7361T2

SHIELD

- fan, bottom

1шт.

13

70-5924T1

BRACKET

MOUNT - radiator frame, right

1шт.

14

70-5925T1

BRACKET

MOUNT - radiator frame, left

1шт.

15

413-820

BOLT,Hex, 1/2" - 13 x 1-1/4", Gr 5

- hex, 1/2 NC x 1-1/4 inch

4шт.

16

80679

LOCK WASHER,1/20.507 CST ZND

WASHER, LOCK, 1/2"

4шт.

19

70-5961T1

FUNNEL

FRAME - mounting, radiator

1шт.

20

413-832

BOLT,Hex, 1/2" - 13 x 2", Gr 5

4шт.

21

CASL13142

BUSHING

MOUNT - isolator, rubber

4шт.

22

19-961

WASHER,17/32" x 1 1/2" x 1/8"

- flat, 1/2 x 1-3/4 x 1/8 inch

4шт.

23

425-108

NUT,1/2" - 13, Gr 5

NUT, , Hex 1/2"-13, G5

8шт.

33

90-7442T1

SEAL

FOAM - seal, 109 inch (Order 90-2894T1 and, Serial Range: cut-length)

1шт.

34

90-7443T1

SEAL

FOAM - seal, 20 inch (Order 70-5259T1 and, Serial Range: cut-length)

1шт.

35

90-7358T1

SHROUD

- fan

1шт.

36

90-7444T1

SEAL

FOAM - seal, 8-1/2 inch (Order 70-5259T1 and, Serial Range: cut-length)

2шт.

37

60-6505T1

FOAM

- seal, 29-1/2 inch (Order 60-4595T1 and, Serial Range: cut-length)

4шт.

Выбрано товаров: 20