Запчасти Case IH 9230 (9-084) - CAB OVERHEAD DOOR (09) - CHASSIS/ATTACHMENTS

Схема запчастей Case IH 9230 - (9-084) - CAB OVERHEAD DOOR (09) - CHASSIS/ATTACHMENTS
21
19
5
7
8
13
10
12
21
1
16
6
15
24
11
7
4
18
18
17
22
2
3
20
14
9
23
FIT
1:1
100%

Артикул

Название

Примечание

Количество

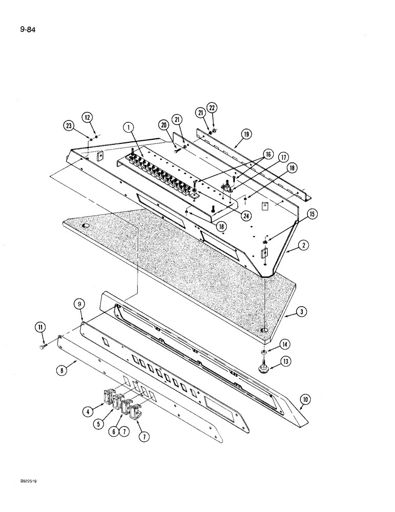
1

REF

INSTRUCTION

BREAKER ASSEMBLY - circuit, See Figure 4-012 for correct breaker

1шт.

2

60-4027T3

FLAP

DOOR - overhead, console (Prior to P.I.N. JCB0028400)

1шт.

2

60-5758T1

BRACKET

DOOR - overhead, console (P.I.N. JCB0028400 and after)

1шт.

3

60-5923T1

NOISE PROTECTION

PAD - insulation, door

1шт.

4

1964752C1

SWITCH

- rocker, master lamp

1шт.

5

245012C1

SWITCH

- rocker, dash lamps

1шт.

6

1964752C1

SWITCH

- rocker, ether start (If equipped)

1шт.

7

60-3210T1

PLUG

- switch hole

2шт.

8

60-6458T2

DECAL

- overhead controls

1шт.

9

60-6459T1

PANEL

- rocker switch

1шт.

10

60-5928T1

COVER

- console door

1шт.

11

363-30812

SCREW,Hex Wash Hd, #8-32 x 3/4"

- flange head machine, No. 8 NC x 3/4 inch

8шт.

12

19-5621

LOCK NUT,#8-32, GB

NUT - hex lock, No. 8 NC

10шт.

13

60-4033T1

BUTTON

KNOB ASSEMBLY - console release (Order components), Includes: stud and knob

2шт.

60-4135T1

STUD,1/4" - 20 x 1-7/16"

- release knob

1шт.

60-4136T1

KNOB

- release, console

1шт.

14

19-6126

SPACER

- knob

2шт.

15

267689R1

LOCK WASHER

RING - snap

2шт.

16

459-5108

SCREW,Slotted Pan Hd, #10-32 x 1/2", G5

- pan head machine, No. 10 NF x 1/2 inch

4шт.

17

20-1451T1

BLOCK

- junction

1шт.

18

19-481

SERRATED NUT

- hex, Keps, No. 10 NF

4шт.

19

60-4034T1

HINGE

- door, console

1шт.

20

313-48

BOLT,Hex, 1/4" - 20 x 1/2", Gr 5

SCREW - hex machine, 1/4 NC x 1/2 inch

3шт.

21

495-11028

WASHER,1/4", SAE

(flat, 9/32 x 5/8 x 1/16") 1/4", SAE

6шт.

22

111626C1

NUT

- hex lock, 1/4 inch NC

3шт.

23

495-21019

WASHER,#8

8шт.

24

495-31022

WASHER,#10

2шт.

Выбрано товаров: 27