Запчасти Case IH 9230 (4-056) - REAR WIPER, IF EQUIPPED (04) - ELECTRICAL SYSTEMS

Схема запчастей Case IH 9230 - (4-056) - REAR WIPER, IF EQUIPPED (04) - ELECTRICAL SYSTEMS
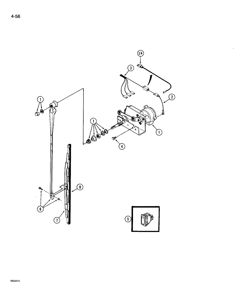
2
8
1
6
1
5
3
7
1
2a
4
FIT
1:1
100%

Артикул

Название

Примечание

Количество

35-1848T91

KIT - wiper, side and rear window with washer, not available, order components, Includes: Ref. 1 - 8

1шт.

Wiper kit also includes the parts shown on Figures 4-052 and 4-054.

1шт.

1

REF

INSTRUCTION

DRIVE ASSEMBLY - wiper, rear, See Figures 4-062 and 4-064 for correct wiper drive

1шт.

2

20-1452T1

ELECTRICAL WIRE

WIRE - motor ground (Prior to P.I.N. JCB0027741)

1шт.

2a

60-6627T1

ELECTRICAL WIRE

WIRE - motor ground (P.I.N. JCB0027741 and after)

1шт.

3

60-6523T1

HARNESS

- rear wiper

1шт.

4

414-424

BOLT,Hex, 1/4" - 28 x 1-1/2", Gr 5

2шт.

5

1987431C1

SWITCH

- rocker, rear wiper (In cab)

1шт.

6

60-1144T1

WIPER ARM

ARM - wiper, rear, 17 inch

1шт.

7

60-1145T91

WIPER BLADE

BLADE ASSEMBLY - wiper, Includes: Ref. 8

1шт.

8

2-4194T1

WIPER BLADE

BLADE - wiper, rubber, 18 inch

1шт.

Выбрано товаров: 11