Запчасти Case IH 9240 (9-030) - HYDRAULIC OIL TANK COVER WITH TOP HINGED ACCESS DOOR (09) - CHASSIS/ATTACHMENTS

Схема запчастей Case IH 9240 - (9-030) - HYDRAULIC OIL TANK COVER WITH TOP HINGED ACCESS DOOR (09) - CHASSIS/ATTACHMENTS
8
14
9
25
6
4
10
2
16
17
26
10
7
15
3
5
25
18
12
13
27
11
1
FIT
1:1
100%

Артикул

Название

Примечание

Количество

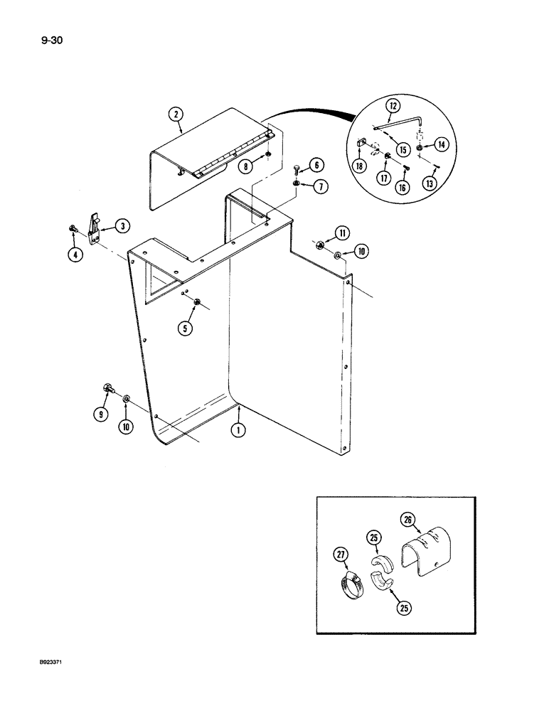
1

70-4144T3

COVER

- hydraulic oil tank

1шт.

2

70-4151T2

DOOR

- oil tank access

1шт.

3

70-4156T1

LATCH

- access door

1шт.

4

440-1068

SCREW,Cross Pan Hd, #6-32 x 1/2"

- machine, pan head, No. 6-32 x 1/2 inch

2шт.

5

19-5564

LOCK NUT,#6-32, GB

NUT - hex lock, No. 6 NC

2шт.

6

413-512

BOLT,Hex, 5/16" - 18 x 3/4", Gr 5

- hex, 5/16 NC x 3/4 inch

3шт.

7

495-21038

WASHER,5/16"

(flat, 3/8 x 7/8 x 3/32") 5/16"

3шт.

8

27254R1

NUT

- hex lock, 5/16 inch NC

3шт.

9

413-612

BOLT,Hex, 3/8" - 16 x 3/4", Gr 5

5шт.

10

495-21044

WASHER,3/8"

(flat, 7/16 x 1 x 5/64 inch) 3/8"

8шт.

11

425-106

NUT,3/8"-16, Cl 5

3шт.

12

70-4435T1

ROD

- access door

1шт.

13

32-612

COTTER PIN,3/32" x 3/4"

PIN, SPLIT (COTTER), 3/32" x 3/4"

1шт.

14

496-21034

WASHER,11/32" x 11/16" x 0.89", HDN

1шт.

15

19-5361

LOCK PIN,1/8" x 1 1/4", Slotted

Pin, 1/8" x 1 1/4", Slotted

1шт.

16

421169

GUARD

- round head machine, No. 2 NC x 3/4 inch

1шт.

17

19-5988

CLIP

- rod retaining

1шт.

18

70-4485T1

NUT

- retainer, plastic

1шт.

NSS

NOT SOLD SEPARAT

KIT - articulation stop, not available (Order Components), 9250 tractor w/ triple wheels, Includes: Ref. 25 - 27

1шт.

25

50-3511T1

HALF-BUSHING

STOP - articulation, kit, 9250 tractor w/ triple wheels

4шт.

26

70-6256T1

JOINT

LOCK - articulation stop kit, 9250 tractor w/ triple wheels

2шт.

27

31-1284

MOUNTING CLIP

CLAMP - stop retaining, articulation kit, 9250 tractor w/ triple wheels

2шт.

Выбрано товаров: 0