Запчасти Case IH 9240 (9-070) - VINYL SEAT, MECHANICAL SUSPENSION, ROPS UNITS (CONTD) (09) - CHASSIS/ATTACHMENTS

Схема запчастей Case IH 9240 - (9-070) - VINYL SEAT, MECHANICAL SUSPENSION, ROPS UNITS (CONTD) (09) - CHASSIS/ATTACHMENTS
23
9
3
11
28
20
26
1
7
5
8
21
27
4
25
27
2
10
22
10
6
24
FIT
1:1
100%

Артикул

Название

Примечание

Количество

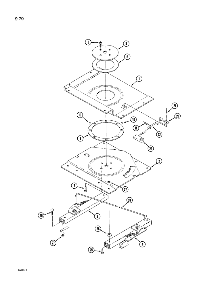
1340224C3

SEAT ASSY.

SEAT ASSEMBLY - mechanical, vinyl, Includes: Ref. 1 - 28 and 1 - 44 on Figure 9-068

1шт.

1344003C3

SEAT SUPPORT

SWIVEL ASSEMBLY - seat, Includes: Ref. 1 - 28

1шт.

1

1343857C1

LARGE PLATE

PLATE - swivel, upper

1шт.

2

1343858C1

LARGE PLATE

PLATE - swivel, lower

1шт.

3

1981823C1

SLIDE

- seat, right

1шт.

4

1981822C1

SLIDE

ASSEMBLY - seat, left, Includes: Ref. 4A

1шт.

4a

1981829C1

WINDOW STAY

HANDLE - slide lever (Order 1999691C1 kit)

1шт.

5

1343859C1

RETAINER

- swivel

1шт.

6

1343860C1

PLATE

PLATE - bearing, swivel

1шт.

7

413-620

BOLT,Hex, 3/8" - 16 x 1-1/4", Gr 5

- hex, 3/8 NC x 1-1/4 inch

4шт.

8

230-4216

LOCK NUT,3/8"-16, GA

NUT - hex lock, 3/8 inch NC

4шт.

9

A49555

LARGE PLATE

RETAINER - ball

1шт.

10

211-214

BALL,1/2" Dia

- chrome alloy steel, 1/2 inch diameter

8шт.

11

N8680

SPRING

- rod, latch

1шт.

20

1343861C1

SUPPORT

BRACKET - mounting, latch rod

1шт.

21

49-36

RIVET,Truss Hd, 3/16" x 3/8"

- steel truss head, 3/16 x 3/8 inch

2шт.

22

1343862C2

ROD, ADJUSTMENT

ROD ASSEMBLY - latch (Replaces 1343862C1), Includes: Ref. 23

1шт.

23

1343863C1

KNOB

- control, swivel (Order 1999692C1 Kit)

1шт.

24

1981825C1

ELECTRICAL WIRE

WIRE - slide actuator

1шт.

25

413-512

BOLT,Hex, 5/16" - 18 x 3/4", Gr 5

- hex, 5/16 NC x 3/4 inch

4шт.

26

495-11034

WASHER,5/16", SAE

5/16" SAE (flat, 11/32 x 11/16 x 1/16")

4шт.

27

230-4115

LOCK NUT,5/16"-18, GA

NUT - hex lock, 5/16 inch NC

8шт.

28

117-101

BOLT

BOLT - square head, 5/16 NC x 3/4 inch

4шт.

Выбрано товаров: 23